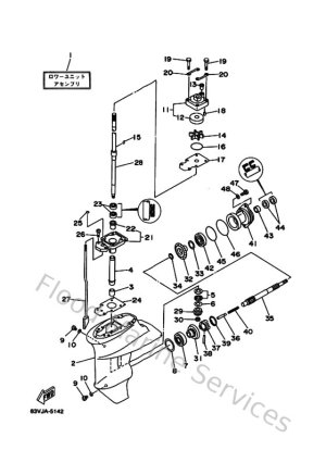
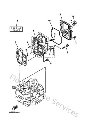
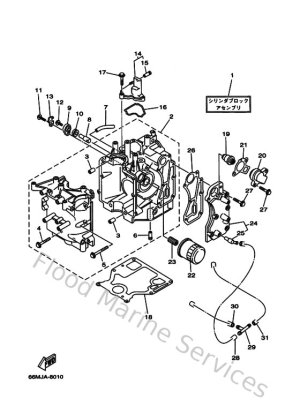
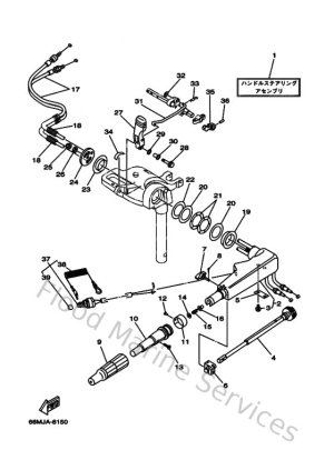
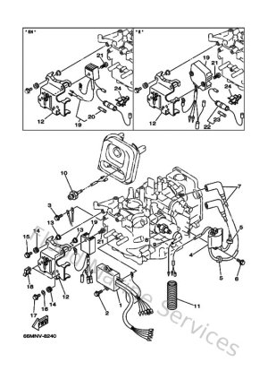
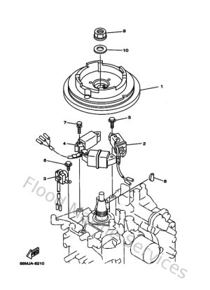
Diagram Sections: F15AMH (1998)

Download as PDF