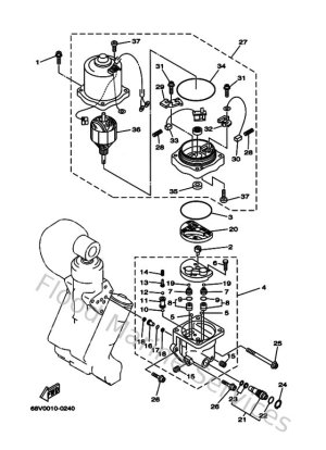
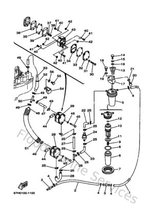
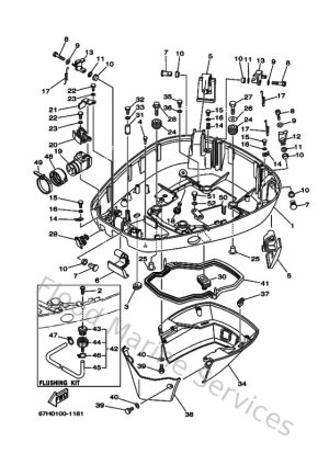
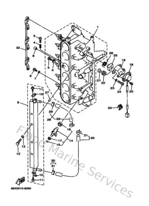
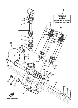
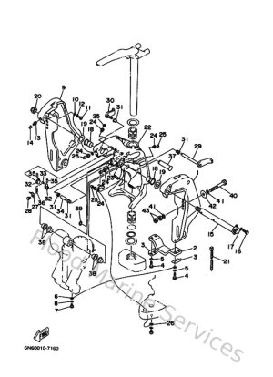
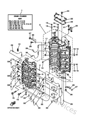
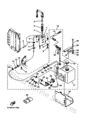
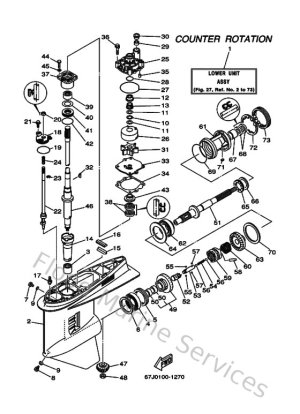
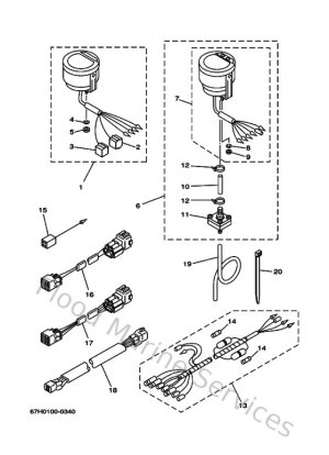
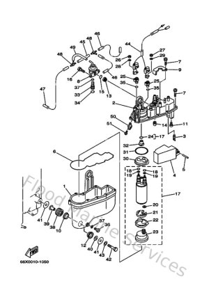
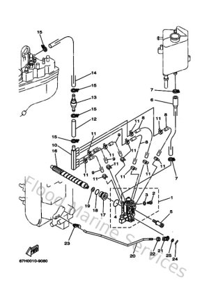
Diagram Sections: L200JETOL (2001)

Download as PDF