Diagram Sections: P100ETO (1996)
Download as PDF-
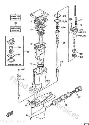
Boitier Dhelice, Transmissio
-
Bottom Cowling
-
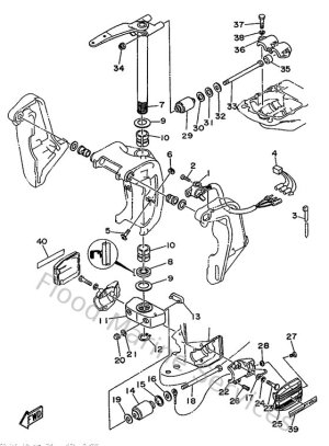
Bracket 1
-
Bracket 2
-
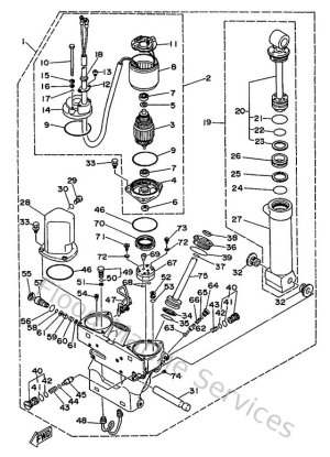
Carburetor
-
Control
-
Crankshaft & Piston
-
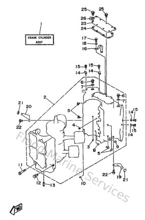
Cylinder. Crankcase 1
-
Cylinder. Crankcase 2
-
Electrical 1
-
Electrical 2
-
Fuel
-
Generatice
-
Intake
-
Oil Pump
-
Puissance Parer Et Incliner
-
Repair Kit 1
-
Repair Kit 2
-
Rpservoir A Huile
-
Starting Motor
-
Top Cowling
-
Upper Casing