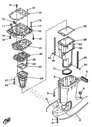
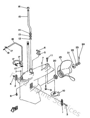
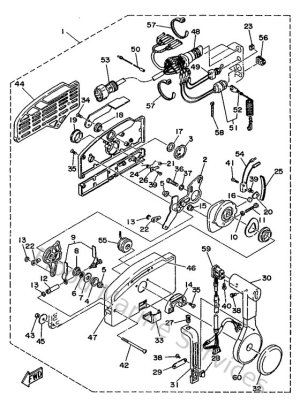
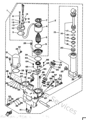
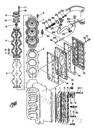
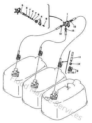
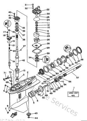
Diagram Sections: P200ETOL (1992)

Download as PDF