Yamaha Outboard Parts - Bracket 2 - 25JETO (1998) | Flood Marine
New Search
Parts
New Outboards
Home
25JETO (1998)
Bracket 2
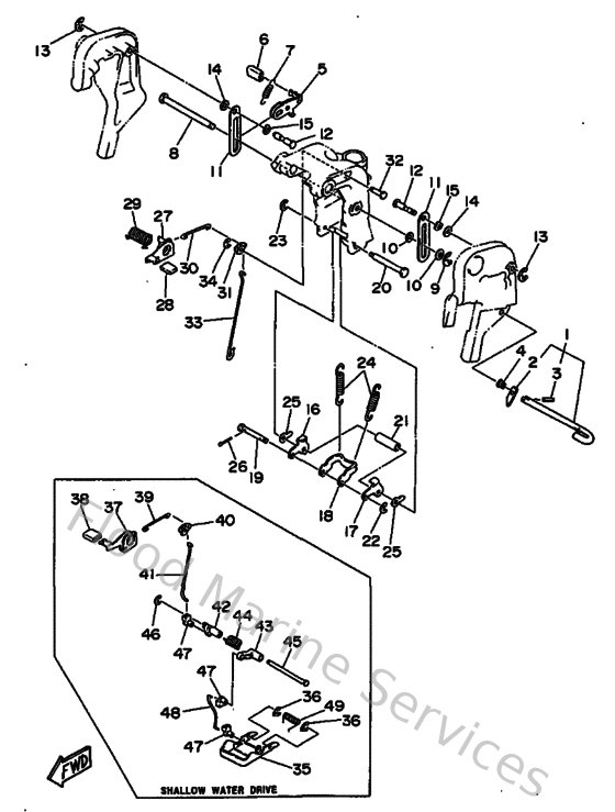
Diagram: Bracket 2
Parts List
Reference
Description
Price
1
6H4431600100
Tilt rod assembly
Loading…
↗
2
676431650000
Stopper plate, titl lock rod
Loading…
↗
3
916903001000
Pin, spring (663)
Loading…
↗
4
9050210M0400
Spring, conical(6f5)
Loading…
↗
5
6J8431810100
Lever, tilt stop 1
Loading…
↗
6
682433180100
Cover
Loading…
↗
7
9050612M2500
Spring, tension(6h4)
Loading…
↗
8
9024912M2800
Pin(6h4)
Loading…
↗
9
9343010M0000
Circlip
Loading…
↗
10
902021203100
Washer, plate 6484412600
Loading…
↗
11
6J8436270000
Stopper
Loading…
↗
12
9024912M2700
Pin(6f6)
Loading…
↗
13
990801060000
Circlip
Loading…
↗
15
9020612M1600
Washer, wave(6j8)
Loading…
↗
16
6J8436140000
Plate, tilt lock
Loading…
↗
17
6J8436150000
Plate, tilt lock
Loading…
↗
18
6J8436130100
Arm, tilt lock
Loading…
↗
19
6H4436590000
Shaft, reverse lock
Loading…
↗
20
6J8436110100
Shaft, tilt lock
Loading…
↗
21
9038707M6400
Collar (6h4)
Loading…
↗
22
9343006M0200
Circlip (689)
Loading…
↗
23
990800560000
Circlip(22k)
Loading…
↗
24
9050632M2200
Spring, tension(6j8)
Loading…
↗
25
6H4436740000
Washer 2
Loading…
↗
26
914902001000
Pin, cotter
Loading…
↗
27
6J8436310000
Lever, tilt
Loading…
↗
28
6J8436330000
Cover, tilt lever
Loading…
↗
29
9050818M2400
Spring, torsion(6h4)
Loading…
↗
30
6H4436160000
Rod, tilt lock 1
Loading…
↗
31
6J8436410000
Lever, tilt
Loading…
↗
32
9024906M2300
Pin(6e7)
Loading…
↗
33
6J8436170000
Rod, tilt lock
Loading…
↗
35
6J8436810100
Lever, shallow water drive
Loading…
↗
36
6J8436730000
Washer 1
Loading…
↗
37
6J8436311000
Lever, tilt
Loading…
↗
41
6J8436171000
Rod, tilt lock
Loading…
↗
42
6J8431860000
Lever
Loading…
↗
43
6J8431870000
Lever 2
Loading…
↗
44
9050825M2100
Spring, torsion(6h4)
Loading…
↗
45
9024907M2500
Pin(6h4)
Loading…
↗
47
6J8412620000
Joint, choke lever
Loading…
↗
48
6J8436161000
Rod, tilt lock
Loading…
↗
49
9050820M2200
Spring, torsion(6h4)
Loading…
↗