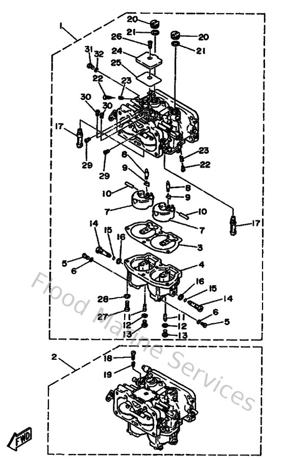
Yamaha Outboard Parts - Carburetor - 115CETOL (1991) | Flood Marine

Diagram: Carburetor

Diagram