Yamaha Outboard Parts - Carburetor - 90AETOL (1991) | Flood Marine
New Search
Parts
New Outboards
Home
90AETOL (1991)
Carburetor
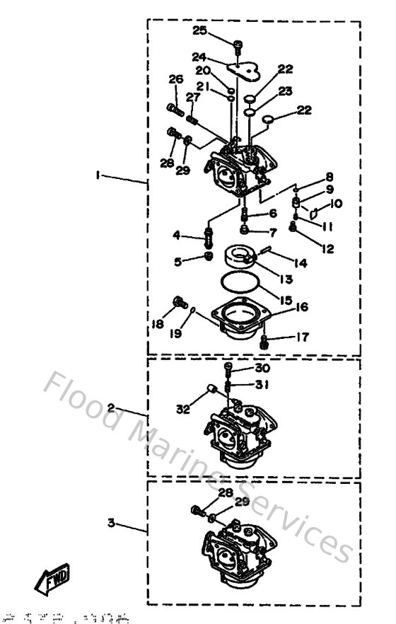
Diagram: Carburetor
Parts List
Reference
Description
Price
3
6H0143031500
Carburetor Assembly 3
Loading…
↗
5
676149434000
Jet, main (#165)
Loading…
↗
6
6E9149481900
Jet
Loading…
↗
7
676149660000
Rubber cap
Loading…
↗
8
932100422800
O-ring (371)
Loading…
↗
9
692145900100
Needle valve assembly
Loading…
↗
10
663141590000
Clip
Loading…
↗
11
676141860000
Pin, valve
Loading…
↗
12
985800400800
Screw, pan head (713)
Loading…
↗
13
676149850100
Float comp
Loading…
↗
14
688145480000
Pin, arm
Loading…
↗
15
676149840000
Gasket, float chamber
Loading…
↗
16
688149800000
Body, float chamber
Loading…
↗
17
985800401400
Screw, pan head(ga5)
Loading…
↗
18
6H3149920000
Screw, drain
Loading…
↗
19
932100423000
O-ring (371)
Loading…
↗
20
663141260000
Packing
Loading…
↗
21
663145270000
Plate
Loading…
↗
22
688141260000
Packing
Loading…
↗
23
688145270000
Plate
Loading…
↗
24
688145720100
Seal
Loading…
↗
25
979800531000
Screw, with washer(6k5)
Loading…
↗
26
692149230000
Screw, adjusting
Loading…
↗
27
679145550000
Spring
Loading…
↗
28
663145920000
Screw
Loading…
↗
29
902010565200
Washer, plate(65j)
Loading…
↗
30
663145230000
Screw, stop
Loading…
↗
31
905011032600
Spring coil(663)(carb)
Loading…
↗
32
6H2145780000
Collar
Loading…
↗