Yamaha Outboard Parts - Fuel - 250BETOXL (2000) | Flood Marine
New Search
Parts
New Outboards
Home
250BETOXL (2000)
Fuel
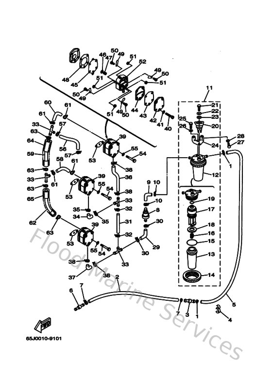
Diagram: Fuel
Parts List
Reference
Description
Price
1
9046511M1000
Clamp
Loading…
↗
2
9044513M1700
Hose(l2700)
Loading…
↗
3
6R3243770000
Pipe, joint 3
Loading…
↗
4
9046413M3400
Clamp(6r3)
Loading…
↗
5
61A243131000
Pipe 3
Loading…
↗
8
6R5244080000
Fuel feed assembly
Loading…
↗
9
61A243110000
Pipe, fuel 1
Loading…
↗
11
65L244090000
Water Separator Assembly
Loading…
↗
12
6P3245600700
Filter assembly
Loading…
↗
13
61A245210000
Cup, filter
Loading…
↗
14
61A245310000
Nut
Loading…
↗
15
61A245640000
O-ring
Loading…
↗
16
65L245770000
Spring
Loading…
↗
17
65L245630000
Element, filter
Loading…
↗
18
61A244690000
Float, water level
Loading…
↗
19
65L245640000
Gasket
Loading…
↗
20
65L245580000
Holder, filter
Loading…
↗
21
970950601600
Bolt, hexagon deep recess
Loading…
↗
22
929950610000
Washer(6a1)
Loading…
↗
23
9020106M0200
Washer,plate (6k8)
Loading…
↗
24
61A245660000
Bracket, filter
Loading…
↗
25
970950601400
Bolt(gj3)
Loading…
↗
26
929900660000
Washer, plain (646)
Loading…
↗
28
929950660000
Washer, plain (646)
Loading…
↗
30
904651009800
Clamp
Loading…
↗
31
6G5243170100
Pipe 7
Loading…
↗
33
6E5243780000
Pipe, joint 3
Loading…
↗
34
6E5243150000
Pipe 5
Loading…
↗
36
6G5243150000
Pipe 5
Loading…
↗
39
6E5244100300
Fuel pump assembly
Loading…
↗
40
985030503500
Screw, pan head (686)
Loading…
↗
41
929900560000
Washer, plain (646)
Loading…
↗
42
6E5244130000
Body 2
Loading…
↗
43
6E5244710000
Diaphragm
Loading…
↗
44
6E5244350000
Gasket, body 2
Loading…
↗
45
6E5244110000
Diaphragm
Loading…
↗
46
648244240000
Seat,spring
Loading…
↗
47
6E5244230000
Spring, diaphragm
Loading…
↗
48
6E5244340200
Gasket, body
Loading…
↗
49
6A0244210100
Valve, check
Loading…
↗
50
6A0143250000
Screw, pan head
Loading…
↗
51
953800360000
Nut (6g8)
Loading…
↗
52
6E5244121000
Body 1
Loading…
↗
53
65024431A000
Gasket,fuel pump
Loading…
↗
54
970950605000
Bolt(jf7)
Loading…
↗
58
6G5243161000
Pipe 6
Loading…
↗
59
9044513M1400
Hose (l90)
Loading…
↗
62
6E5243130000
Pipe 3
Loading…
↗
64
6E9835577000
Tube
Loading…
↗
65
65L835570000
Tube
Loading…
↗