Yamaha Outboard Parts - Fuel Injection Pump - 250BETOXL (2000) | Flood Marine
New Search
Parts
New Outboards
Home
250BETOXL (2000)
Fuel Injection Pump
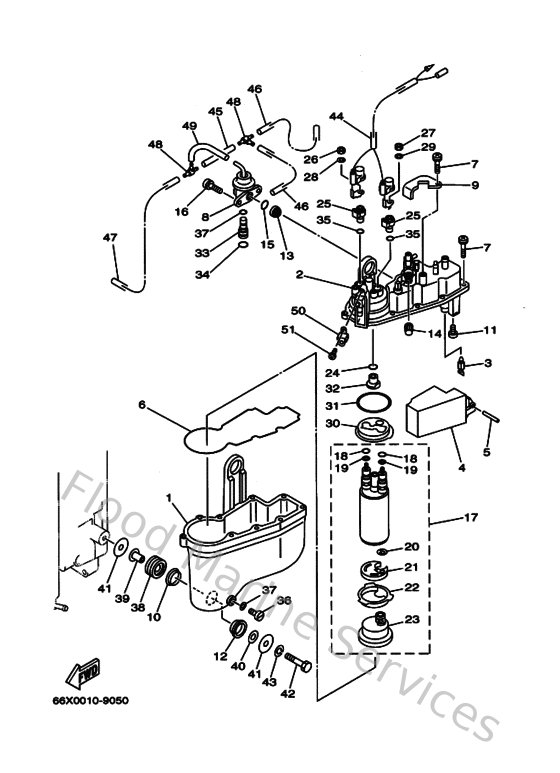
Diagram: Fuel Injection Pump
Parts List
Reference
Description
Price
1
66K149800000
Body, float chamber
Loading…
↗
2
66K141820000
Cover, float chamber
Loading…
↗
3
65L145460000
Valve, needle
Loading…
↗
4
66K149850000
Float
Loading…
↗
5
66K145480000
Pin, Float Arm
Loading…
↗
6
66K149840000
Gasket, float chamber
Loading…
↗
7
65L141250000
Screw
Loading…
↗
8
66K139060000
Regulator, pressure
Loading…
↗
9
66K142550000
Plate
Loading…
↗
10
66K142390000
Seal
Loading…
↗
11
66K143250000
Screw, Pan Head
Loading…
↗
12
66K141630000
Spacer
Loading…
↗
13
65L139050000
Filter comp
Loading…
↗
14
65L149660000
Cap
Loading…
↗
15
65L244860000
O-ring
Loading…
↗
16
66K142450000
Screw, guide
Loading…
↗
17
66K139070000
Fuel pump comp.
Loading…
↗
18
65L142270000
Washer
Loading…
↗
19
67C143980000
Washer
Loading…
↗
20
65L141590000
Clip
Loading…
↗
21
66K137810000
Damper, pump
Loading…
↗
22
66K138440000
Plate 2
Loading…
↗
23
66K139150000
Filter
Loading…
↗
24
65L1416A0000
O-ring
Loading…
↗
25
65L142710000
Insulator
Loading…
↗
26
65L8182A0000
Nut
Loading…
↗
27
65L8182K0000
Nut
Loading…
↗
28
65L8182E0000
Washer
Loading…
↗
29
65L8182F0000
Washer
Loading…
↗
30
66K138430000
Plate 1
Loading…
↗
31
65L141470000
O-ring
Loading…
↗
32
65L142740000
Connector
Loading…
↗
33
66K243760000
Pipe, joint 1
Loading…
↗
34
66K244890000
O-ring
Loading…
↗
35
65L143970000
O-ring
Loading…
↗
36
65L149920000
Screw, drain
Loading…
↗
37
65L149970000
Seal
Loading…
↗
38
65L243750000
Grommet
Loading…
↗
39
65L243970000
Collar
Loading…
↗
40
65L245760000
Washer
Loading…
↗
41
66K245790000
Washer 2
Loading…
↗
42
65L245920000
Bolt
Loading…
↗
43
65L241690000
Washer, lock
Loading…
↗
44
67H825070000
Wire, Lead
Loading…
↗
45
66K135420000
Hose, vacuum sensing 1
Loading…
↗
46
67H135440000
Hose, Vacuum Sensing 2
Loading…
↗
47
66K135320000
Hose, vacuum sensing 3
Loading…
↗
48
65L244610000
Pipe.joint 4
Loading…
↗
49
66K135330000
Hose, vacuum sensing 4
Loading…
↗
50
66K138980000
Holder
Loading…
↗
51
65L145650000
Screw
Loading…
↗