Yamaha Outboard Parts - Intake - L250AETO (1990) | Flood Marine

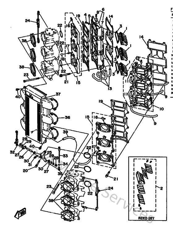
Diagram: Intake

Diagram

Parts List

Reference
Description
Price