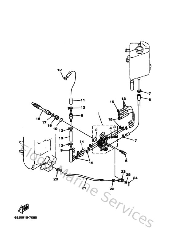
Yamaha Outboard Parts - Oil Pump - 250BETOXL (2000) | Flood Marine

Diagram: Oil Pump

Diagram