Yamaha Outboard Parts - Bottom Cowling - 4ACMH (1996) | Flood Marine
New Search
Parts
New Outboards
Home
4ACMH (1996)
Bottom Cowling
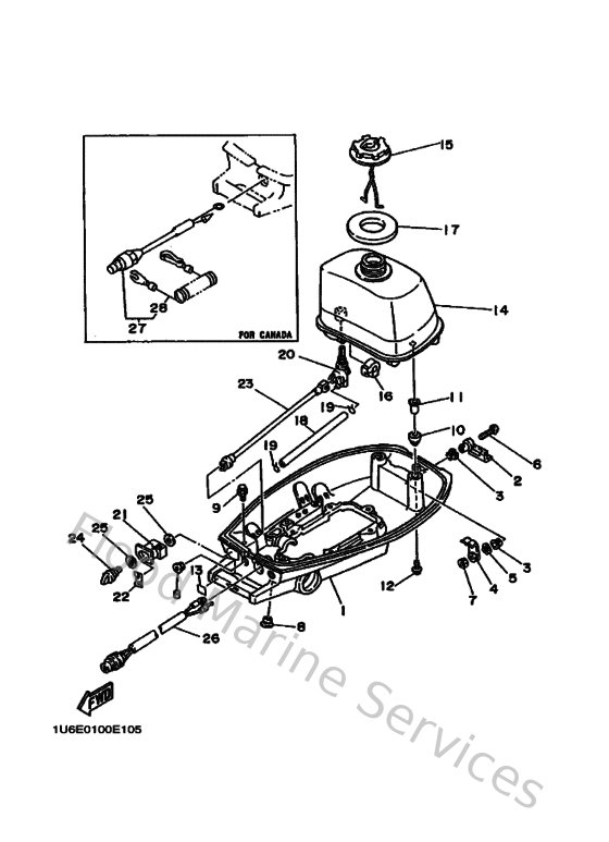
Diagram: Bottom Cowling
Parts List
Reference
Description
Price
1
6E042711054D
Cowling, bottom
Loading…
↗
2
6E042815004D
Lever, clamp
Loading…
↗
3
903861206900
Bush(666)
Loading…
↗
4
6E0428160000
Lever, clamp
Loading…
↗
5
902061205200
Washer, wave (666)
Loading…
↗
6
978850603000
Screw, pan head(6e0)
Loading…
↗
7
9538R0670000
Nut
Loading…
↗
8
9048014M1400
Grommet (6e0)
Loading…
↗
9
958950602000
Bolt, flange(jk3)
Loading…
↗
10
6E3241820000
Damper, locating 2
Loading…
↗
11
6E0425420000
Pipe 1
Loading…
↗
12
958950602500
Bolt, flange deep recess
Loading…
↗
13
6A1427920100
Mark (100:1)
Loading…
↗
14
6E024110014D
Fuel Tank Comp
Loading…
↗
15
6E0246100200
Cap assembly
Loading…
↗
16
6E0241810000
Damper, locating 1
Loading…
↗
17
6E0246410000
Gasket, cap
Loading…
↗
18
9044509M3700
Hose (l1500)
Loading…
↗
19
904670800400
Clip, pipe 6162435600
Loading…
↗
20
6E0245000000
Fuel cock assembly 1
Loading…
↗
21
6E0245710000
Bushing
Loading…
↗
23
6E0245720000
Shaft, fuel change
Loading…
↗
24
6E0245750100
Lever, fuel change
Loading…
↗
25
9020212M1700
Washer, plate (6e0)
Loading…
↗
26
6E0825500100
Stop switch assembly
Loading…
↗
27
6E0825750000
Engine stop switch assembly
Loading…
↗
28
682825560000
Lanyard, stop switch
Loading…
↗