Yamaha Outboard Parts - Bracket 1 - 40VMO (1998) | Flood Marine
New Search
Parts
New Outboards
Home
40VMO (1998)
Bracket 1
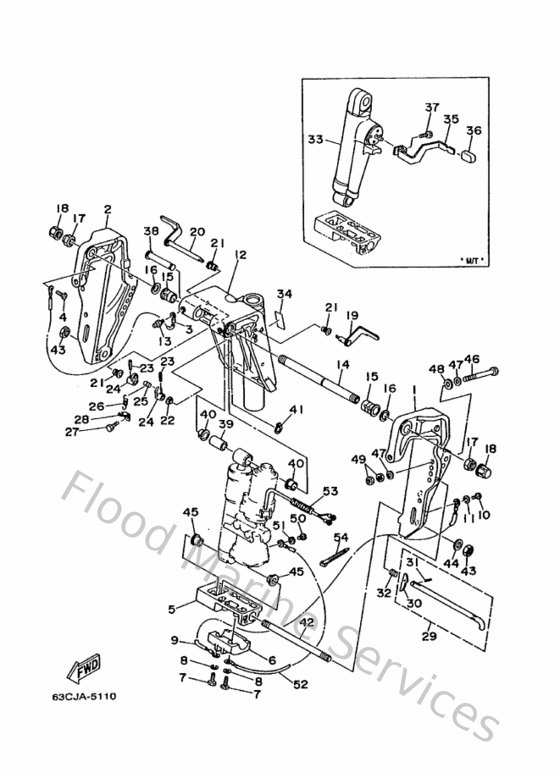
Diagram: Bracket 1
Parts List
Reference
Description
Price
1
63D43111004D
Bracket, clamp 1
Loading…
↗
2
63D43112004D
Bracket, clamp 2
Loading…
↗
3
6E5821480000
Wire, lead 5
Loading…
↗
4
978850600800
Screw, pan head(6a3)
Loading…
↗
5
63D43128014D
Spacer, clamp bracket
Loading…
↗
6
63D452510100
Anode
Loading…
↗
7
970950602500
Bolt
Loading…
↗
8
929950610000
Washer(6a1)
Loading…
↗
9
6T4821170000
Wire, lead
Loading…
↗
10
970950601000
Bolt
Loading…
↗
11
929900660000
Washer, plain (646)
Loading…
↗
12
63D43311034D
Bracket, swivel 1
Loading…
↗
13
9370006M0300
Nipple, grease(6a1)
Loading…
↗
14
63D431310000
Bolt, clamp bracket
Loading…
↗
15
9038622M1500
Bushing (688)
Loading…
↗
16
9020122M0300
Washer, plate(64j)
Loading…
↗
17
9018522M1100
Nut, self-locking
Loading…
↗
18
6G5431450100
Cap, clamp bracket
Loading…
↗
19
6H5431810300
Lever, tilt stop 1
Loading…
↗
20
6H5431850300
Lever, tilt stop 2
Loading…
↗
21
9038610M1600
Bushing (688)
Loading…
↗
22
903861002500
Bushing (658)
Loading…
↗
23
916903002000
Pin, spring (6h4)
Loading…
↗
24
6G5431480000
Collar, distance
Loading…
↗
25
9024906M1900
Pin(6e5)
Loading…
↗
26
9050614M2400
Spring, tension(6e5)
Loading…
↗
28
6G5431440000
Hook, spring
Loading…
↗
29
688431600100
Tilt rod ass'y
Loading…
↗
30
688431650000
Stopper, tilt rod
Loading…
↗
31
916903001200
Pin, spring
Loading…
↗
32
9050216M0200
Spring, conical (688)
Loading…
↗
33
62XWS431004D
Shock absorber assembly
Loading…
↗
34
63D436910000
Indicator, tilt
Loading…
↗
35
63D436310000
Lever, tilt
Loading…
↗
36
682433180100
Cover
Loading…
↗
38
6E5431260200
Pin, upper shock mount
Loading…
↗
39
9038618M9200
Bush(62x)
Loading…
↗
40
9038618M3500
Bush (688)
Loading…
↗
41
9341018M0200
Circlip (6f2)
Loading…
↗
42
9011618M5200
Bolt, stud(62x)
Loading…
↗
43
9017018M1000
Nut (6h5)
Loading…
↗
44
929951860000
Washer(64j)
Loading…
↗
45
9038618M4400
Bushing (6g5)
Loading…
↗
46
9010112M6500
Bolt
Loading…
↗
47
929901220000
Ybs66-12 washer,plain
Loading…
↗
48
902011242600
Washe, plate(663)
Loading…
↗
49
953801260000
Nut (707)
Loading…
↗
52
6H1821480000
Wire, lead
Loading…
↗
53
9044014M0000
Pipe(6h4)
Loading…
↗
54
9046511M1000
Clamp
Loading…
↗