Yamaha Outboard Parts - Bracket 2 - 20DMHO (1989) | Flood Marine
New Search
Parts
New Outboards
Home
20DMHO (1989)
Bracket 2
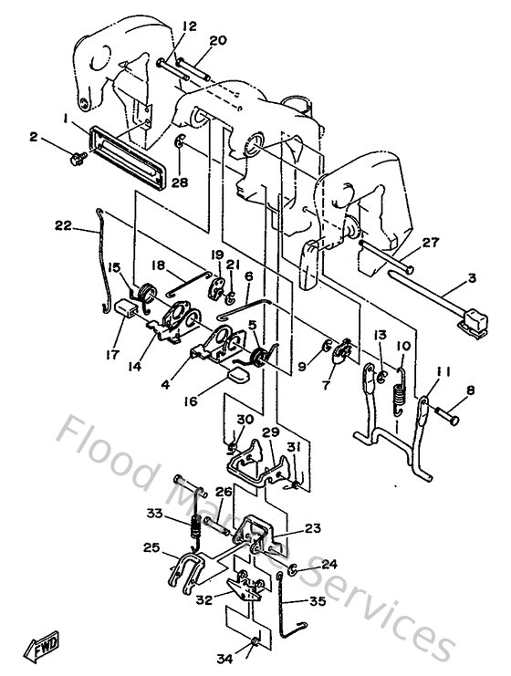
Diagram: Bracket 2
Parts List
Reference
Description
Price
2
975150621000
Bolt
Loading…
↗
3
6L2431600000
Tilt rod assembly
Loading…
↗
4
6L2436810000
Lever, Shallow Wat
Loading…
↗
5
6L2436430000
Spring
Loading…
↗
6
6L2436160000
Rod, tilt lock
Loading…
↗
8
6L2431910000
Shaft, Stopper
Loading…
↗
9
990800560000
Circlip(22k)
Loading…
↗
10
9050620M2600
Spring, tension(6l2)
Loading…
↗
11
6L2433500000
Receiver assembly
Loading…
↗
12
6L2436460000
Shaft, Lever
Loading…
↗
14
6L2436310000
Lever, tilt
Loading…
↗
15
6L2431880000
Spring
Loading…
↗
16
6L2436330000
Cover, Tilt Lever
Loading…
↗
17
6L2436331000
Cover, tilt lever
Loading…
↗
18
6L2436110000
Shaft, tilt lock
Loading…
↗
19
6L2436410000
Lever, tilt
Loading…
↗
20
6L2436590000
Shaft, reverse lock
Loading…
↗
22
6L2436170000
Rod, tilt lock
Loading…
↗
23
6L2436130000
Arm, tilt lock
Loading…
↗
25
6L2436240000
Plate, tilt rock
Loading…
↗
26
6L2433360000
Pin
Loading…
↗
27
6J8436110100
Shaft, tilt lock
Loading…
↗
29
6L2436140000
Plate, tilt lock
Loading…
↗
30
9050812M2800
Spring, torsion(6l2)
Loading…
↗
31
9050812M2900
Spring, torsion(6l2)
Loading…
↗
32
6L2436150000
Plate, tilt lock
Loading…
↗
33
9050623M1100
Spring, tension(6l2)
Loading…
↗
34
6L2436570000
Spring, lock
Loading…
↗
35
6L2436760000
Hook
Loading…
↗