Yamaha Outboard Parts - Bracket 4 - E75BE (2001) | Flood Marine

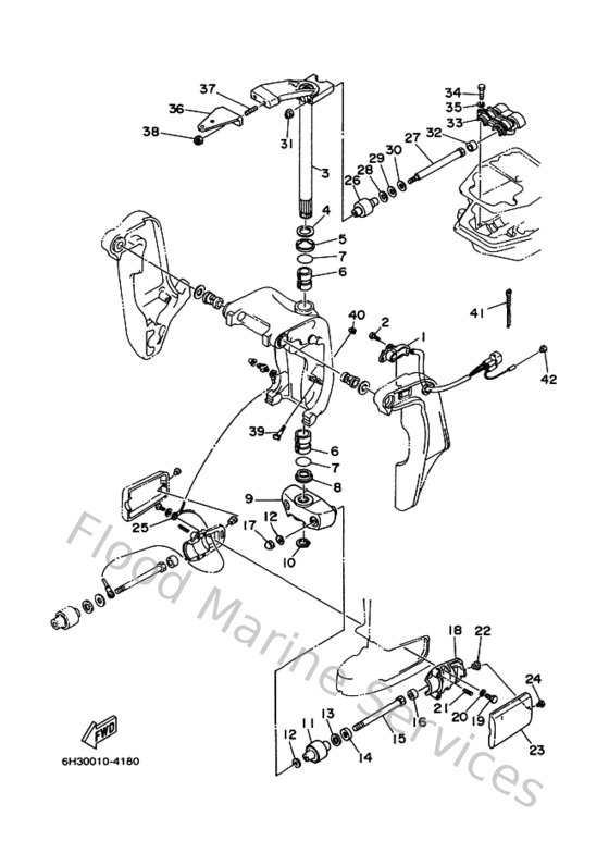
Diagram: Bracket 4

Diagram

Parts List

Reference
Description
Price