Yamaha Outboard Parts - Carburetor - 20DMHO (1989) | Flood Marine
New Search
Parts
New Outboards
Home
20DMHO (1989)
Carburetor
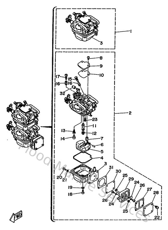
Diagram: Carburetor
Parts List
Reference
Description
Price
1
6L2143010000
Carburetor assembly 1
Loading…
↗
2
6L2143020000
Carburetor assembly 2
Loading…
↗
3
6L2143810000
Body, float chamber
Loading…
↗
4
6L2143840000
Gasket, float chamber
Loading…
↗
5
6L2143850000
Float
Loading…
↗
6
6E5143860100
Pin, float
Loading…
↗
7
6L2143920000
Valve, needle
Loading…
↗
8
985800401000
Screw, pan head (e56)
Loading…
↗
9
6L2141570000
Cover, mixing
Loading…
↗
10
6L2143990000
Gasket
Loading…
↗
11
6L2143410000
Nozzle, main
Loading…
↗
12
30X143436300
Jet, main
Loading…
↗
13
6L2143423000
Jet, pilot (#60)
Loading…
↗
14
50M143550000
Plug
Loading…
↗
15
6L2143230000
Screw, air adjusting
Loading…
↗
16
646142120100
Spring, pilot adjusting
Loading…
↗
17
648143210000
Screw, pan head(ga5)
Loading…
↗
18
985800401200
Screw, pan head (686)
Loading…
↗
19
929900410000
Ybs67-4 washer, spring
Loading…
↗
20
677143830000
Screw, drain
Loading…
↗
21
6L2143980000
Gasket
Loading…
↗
22
677244440000
Screw
Loading…
↗
23
989800400600
Screw, bind(6l2)
Loading…
↗
24
6A0244210100
Valve, check
Loading…
↗
25
988130310000
Nut
Loading…
↗
26
6E7143250000
Screw, pan head
Loading…
↗
27
6L2244350000
Gasket, body 2
Loading…
↗
28
6L2244130000
Body 2
Loading…
↗
29
682244120100
Body, pump
Loading…
↗
30
677244110200
Diaphragm
Loading…
↗
31
677244340200
Gasket, pump 1
Loading…
↗
32
6L2145780000
Collar & stopper set
Loading…
↗