Yamaha Outboard Parts - Carburetor - 40VMO (2000) | Flood Marine
New Search
Parts
New Outboards
Home
40VMO (2000)
Carburetor
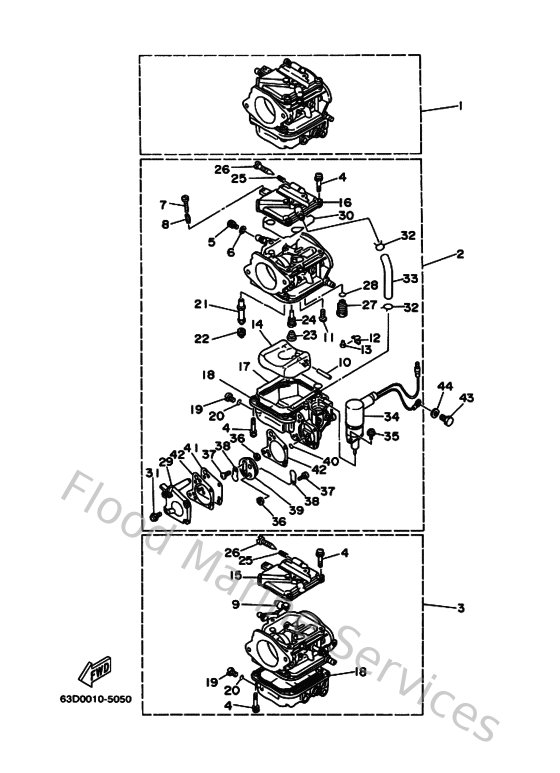
Diagram: Carburetor
Parts List
Reference
Description
Price
1
63B143010000
Carburetor assembly 1
Loading…
↗
2
63B143020000
Carburetor assembly 2
Loading…
↗
3
63B143030000
Carburetor assembly 3
Loading…
↗
4
979800411400
Screw, pan head(ga5)
Loading…
↗
5
6K5145920000
Screw
Loading…
↗
6
902010565200
Washer, plate(65j)
Loading…
↗
7
63V145230000
Screw, stop
Loading…
↗
8
905011032600
Spring coil(663)(carb)
Loading…
↗
9
6H2145780000
Collar
Loading…
↗
10
6H4145480000
Pin, float arm
Loading…
↗
11
985800400800
Screw, pan head (713)
Loading…
↗
12
663141590000
Clip
Loading…
↗
13
676141860000
Pin, valve
Loading…
↗
14
6H4149850100
Float
Loading…
↗
15
6H4141461000
Plate
Loading…
↗
16
6H4141460000
Plate
Loading…
↗
17
6H4149840000
Gasket, float chamber
Loading…
↗
18
6H4149800000
Body, float chamber
Loading…
↗
19
6H3149920000
Screw, drain
Loading…
↗
20
932100423000
O-ring (371)
Loading…
↗
21
63D149470000
Jet, needle
Loading…
↗
22
676149433000
Jet, main (#115)
Loading…
↗
23
679149660000
Rubber cap
Loading…
↗
24
6H4149481100
Jet (#60)
Loading…
↗
25
679145550000
Spring
Loading…
↗
26
692149230000
Screw, adjusting
Loading…
↗
27
6H4145900000
Needle valve assembly
Loading…
↗
28
932100422800
O-ring (371)
Loading…
↗
30
6H4141470000
O-ring
Loading…
↗