Yamaha Outboard Parts - Carburetor - F8AMH (1987) | Flood Marine

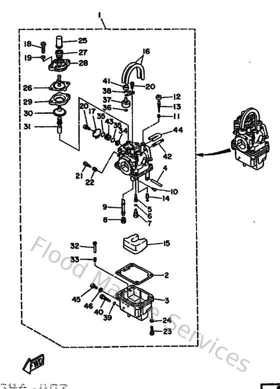
Diagram: Carburetor

Diagram

Parts List

Reference
Description
Price