Yamaha Outboard Parts - Control - 55BM (1990) | Flood Marine
New Search
Parts
New Outboards
Home
55BM (1990)
Control
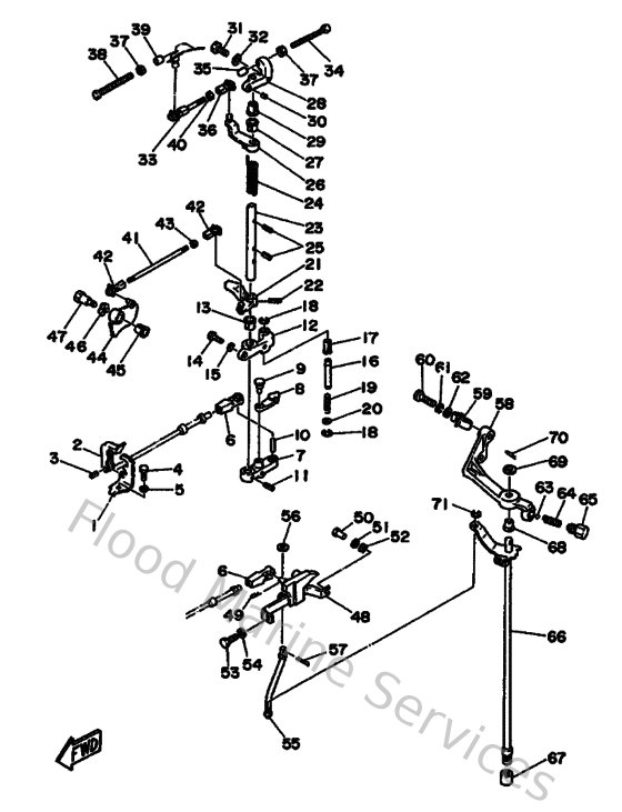
Diagram: Control
Parts List
Reference
Description
Price
1
663485310000
Bracket, remote control
Loading…
↗
2
663485380000
Clamp, cable 1
Loading…
↗
3
916903001200
Pin, spring
Loading…
↗
4
973130801600
Bolt, hexagon
Loading…
↗
5
929900810000
Ybs67-8 washer, spring
Loading…
↗
6
6FM483440000
Cable end, remote control
Loading…
↗
7
663416320094
Lever, magneto control 2
Loading…
↗
8
663412820000
Stopper free, axle link
Loading…
↗
9
902490512500
Pin (663)
Loading…
↗
10
936072311000
Pin, dowel(663)
Loading…
↗
11
916903001800
926-51502-00 pin, spring (700)
Loading…
↗
12
663416620094
Bracket 2
Loading…
↗
13
903861000900
Bushing 6484418600
Loading…
↗
14
973130601800
Bolt, hexagon
Loading…
↗
15
929900660000
Washer, plain (646)
Loading…
↗
16
663441140000
Stopper
Loading…
↗
17
9038606M3900
Bushing (697)
Loading…
↗
18
990800560000
Circlip(22k)
Loading…
↗
19
905010823200
Spring, compression(663)
Loading…
↗
21
663416330000
Magneto Control Lever
Loading…
↗
23
663416350000
Shaft, link connecting
Loading…
↗
24
905082016900
Spring, torsion(663)
Loading…
↗
26
663416310000
Lever, magneto control
Loading…
↗
28
663416610094
Bracket 1
Loading…
↗
30
916904001000
Pin, spring
Loading…
↗
31
970130601800
Bolt, hexagon
Loading…
↗
33
688416360000
Rod 1
Loading…
↗
34
901570601300
Screw, pan head(697)
Loading…
↗
35
688441940000
Cap
Loading…
↗
36
6H1412370000
Joint, link
Loading…
↗
37
953030670000
Nut
Loading…
↗
38
9015706M1200
Screw, pan head(697)
Loading…
↗
39
663441940000
Cap
Loading…
↗
40
953800560000
Nut, hexagon (663)
Loading…
↗
41
663412111000
Link, accel.
Loading…
↗
44
663412130194
Cam, accel.
Loading…
↗
46
9020610M0400
Washer, wave (676)
Loading…
↗
47
901090626000
Bolt(663)
Loading…
↗
48
663441170100
Bracket 1
Loading…
↗
49
904681800800
Clip 620436610000
Loading…
↗
50
9024106M0000
Pin with head (663)
Loading…
↗
52
902060604000
Washer, wave (663)
Loading…
↗
55
663441210100
Lever, shift rod
Loading…
↗
57
914901602000
Pin, cotter (e57)
Loading…
↗
58
688441180094
Bracket
Loading…
↗
59
9046205M0200
Clamp (697)
Loading…
↗
60
970130803000
Bolt
Loading…
↗
62
929900860000
Washer, plain (663)
Loading…
↗
63
9350104M0200
Ball (697)
Loading…
↗
64
905011208200
Spring 6484411600
Loading…
↗
65
648427150000
Bushing 2
Loading…
↗
66
697441201300
Handle gear shift assembly
Loading…
↗
67
696441470000
Boot, shift rod
Loading…
↗
68
903860800600
Bushing (688)
Loading…
↗
69
929900820000
Ybs66-8 washer, plain
Loading…
↗