Yamaha Outboard Parts - Control - 5CMH (1992) | Flood Marine
New Search
Parts
New Outboards
Home
5CMH (1992)
Control
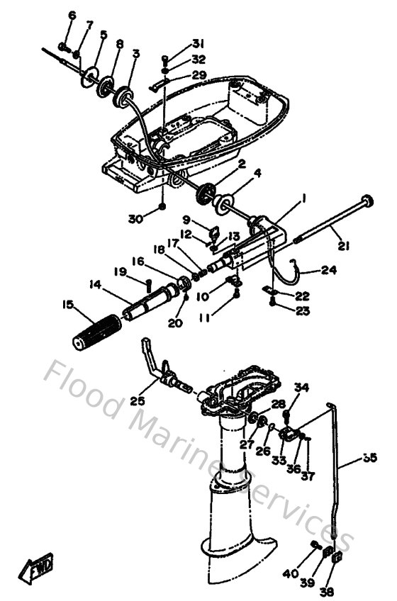
Diagram: Control
Parts List
Reference
Description
Price
1
6E04211102EJ
Handle, Steering
Loading…
↗
2
6E0421290200
Bushing, rubber
Loading…
↗
3
6E4421290000
Bushing, rubber
Loading…
↗
4
9038626M3000
Bushing (6e0)
Loading…
↗
5
6E0421310294
Cover, handle steering
Loading…
↗
6
970130502000
Bolt, hexagon
Loading…
↗
7
929900560000
Washer, plain (646)
Loading…
↗
8
9038626M3300
Bushing (6e0)
Loading…
↗
9
6E0421250000
Bolt, friction adjust
Loading…
↗
10
6E0421340200
Cover, throttle lever
Loading…
↗
11
978850501200
Screw,pan head (646)
Loading…
↗
12
914901201000
Pin, cotter (6g8)
Loading…
↗
13
9020207M2200
Washer (6e0)
Loading…
↗
14
6E0421190000
Grip, steering handle
Loading…
↗
15
6E0421770000
Rubber, handle
Loading…
↗
16
6E0421371000
Indicator, throttle
Loading…
↗
17
905012321500
Spring (655)
Loading…
↗
18
902011011900
Washer, plain(735)
Loading…
↗
19
9014905M1300
Screw, countersunk
Loading…
↗
20
9026902M0900
Rivet(6l5)
Loading…
↗
21
6E0421380100
Lever, throttle
Loading…
↗
22
6E0421590200
Stay
Loading…
↗
23
978950501200
Screw,pan head (646)
Loading…
↗
24
6E0263010100
Throttle wire assembly
Loading…
↗
25
6E0441110200
Handle, gear shift
Loading…
↗
26
932101279000
O-ring(3ld)
Loading…
↗
27
9020616M0600
Washer, wave (6e0)
Loading…
↗
28
902021606100
Washer, plate(663)
Loading…
↗
29
6E0441160000
Spring
Loading…
↗
30
9538R0670000
Nut
Loading…
↗
31
973950601200
Bolt(gh1)
Loading…
↗
32
929900660000
Washer, plain (646)
Loading…
↗
33
6E0441210000
Lever, shift rod 1
Loading…
↗
34
958950602500
Bolt, flange deep recess
Loading…
↗
35
6E0441431000
Rod, shift 1
Loading…
↗
37
914901601000
Pin, cotter
Loading…
↗
38
6E0441450000
Connector, shift rod 1
Loading…
↗
39
6E0441460000
Connector, shift rod 2
Loading…
↗