Yamaha Outboard Parts - Controller 1 - 225DETOL (1998) | Flood Marine
New Search
Parts
New Outboards
Home
225DETOL (1998)
Controller 1
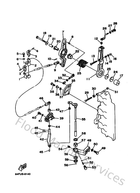
Diagram: Controller 1
Parts List
Reference
Description
Price
1
64D485310000
Bracket, remote control 1
Loading…
↗
2
64D485320000
Bracket, remote control 2
Loading…
↗
3
6E5485380000
Clamp, cable
Loading…
↗
4
916903001200
Pin, spring
Loading…
↗
5
970950802000
Bolt, hexagon
Loading…
↗
6
929950810000
Ybs67-8 washer, spring
Loading…
↗
7
61H416320294
Lever, Magneto Control
Loading…
↗
8
662412140100
Joint 1
Loading…
↗
9
6E5483440000
Cable end, remote control
Loading…
↗
10
904681800800
Clip 620436610000
Loading…
↗
11
6G5416310194
Lever, magneto control
Loading…
↗
12
663855180000
Joint, ball
Loading…
↗
13
9015706M1100
Screw, pan head(697)
Loading…
↗
14
9050116M1200
Spring, compression (688)
Loading…
↗
15
953800660000
Nut(661)
Loading…
↗
16
688441940000
Cap
Loading…
↗
17
9038708M1700
Collar
Loading…
↗
18
9010108M1400
Bolt(61h)
Loading…
↗
19
9020108M5400
Washer, plate (6e5)
Loading…
↗
20
903861208900
Bushing(663)
Loading…
↗
21
9038708M1600
Collar
Loading…
↗
22
9038622M1300
Bushing (688)
Loading…
↗
23
902021209200
Washer, plate(663)
Loading…
↗
24
9020108M1300
Washer plate (682)
Loading…
↗
25
9050829M1200
Spring (6e5)
Loading…
↗
26
6G5416360100
Rod, magneto control
Loading…
↗
27
953800560000
Nut, hexagon (663)
Loading…
↗
28
6H1412370000
Joint, link
Loading…
↗
29
9015706M0700
Screw, Pan Head(61H
Loading…
↗
32
682412375000
Joint, link 2
Loading…
↗
35
61H412130000
Cam, accel.
Loading…
↗
36
9038706M2900
Coller (6a0)
Loading…
↗
37
9020610M0400
Washer, wave (676)
Loading…
↗
38
970950602500
Bolt
Loading…
↗
39
6E5441170094
Bracket
Loading…
↗
40
970130602000
Bolt(62y)
Loading…
↗
41
929900660000
Washer, plain (646)
Loading…
↗
42
6E5441210100
Lever, shift rod
Loading…
↗
43
6E5441220000
Bushing, shift rod lever
Loading…
↗
44
9020208M2000
Washer, plate (6e5)
Loading…
↗
47
9038606M1200
Bushing (688)
Loading…
↗
48
6E5441180194
Bracket 2
Loading…
↗
49
970130803000
Bolt
Loading…
↗
50
929900860000
Washer, plain (663)
Loading…
↗
51
9350104M0200
Ball (697)
Loading…
↗
52
905011208200
Spring 6484411600
Loading…
↗
53
648427150000
Bushing 2
Loading…
↗
54
9370006M0300
Nipple, grease(6a1)
Loading…
↗
55
6E5441202400
Handle gear shift assembly
Loading…
↗
56
932100935000
O-ring
Loading…
↗
57
9038616M6600
Bush(6e5)
Loading…
↗
58
902021606100
Washer, plate(663)
Loading…
↗
59
990091640000
Circlip(13t)
Loading…
↗