Yamaha Outboard Parts - Cowling - 4ACMH (1986) | Flood Marine
New Search
Parts
New Outboards
Home
4ACMH (1986)
Cowling
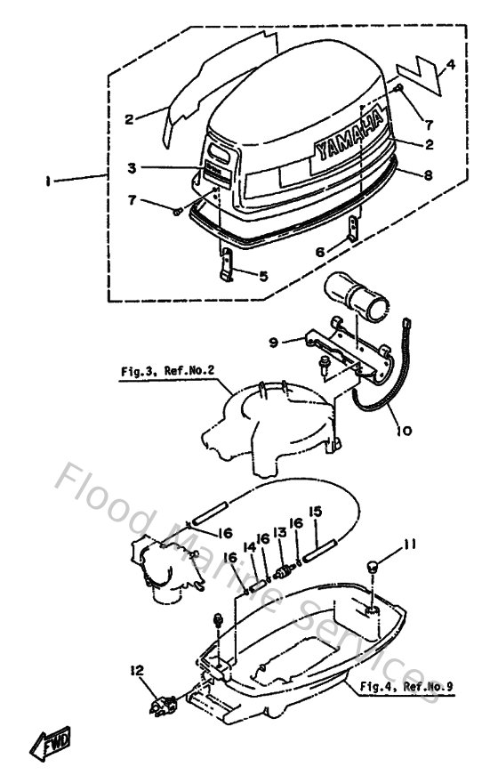
Diagram: Cowling
Parts List
Reference
Description
Price
3
6E0426770100
Graphic Front
Loading…
↗
5
6E0426510000
Hook
Loading…
↗
6
6E0426470100
Holder, clamp band
Loading…
↗
7
9026604M0000
Rivet 2 (662)
Loading…
↗
8
6E0426150000
Seal
Loading…
↗
9
6E1426430000
Plate, Clamp
Loading…
↗
10
904641515200
Clamp(mf1)
Loading…
↗
11
6E1241820000
Damper, Locating 2
Loading…
↗
12
6G1243040100
Fuel pipe joint comp. 1
Loading…
↗
13
646242510200
Strainer 1
Loading…
↗
14
904450906800
Hose (l420)
Loading…
↗
15
904450905700
Hose (l180)
Loading…
↗
16
904670800400
Clip, pipe 6162435600
Loading…
↗