Yamaha Outboard Parts - Crankshaft & Piston - 15FWH (1998) | Flood Marine
New Search
Parts
New Outboards
Home
15FWH (1998)
Crankshaft & Piston
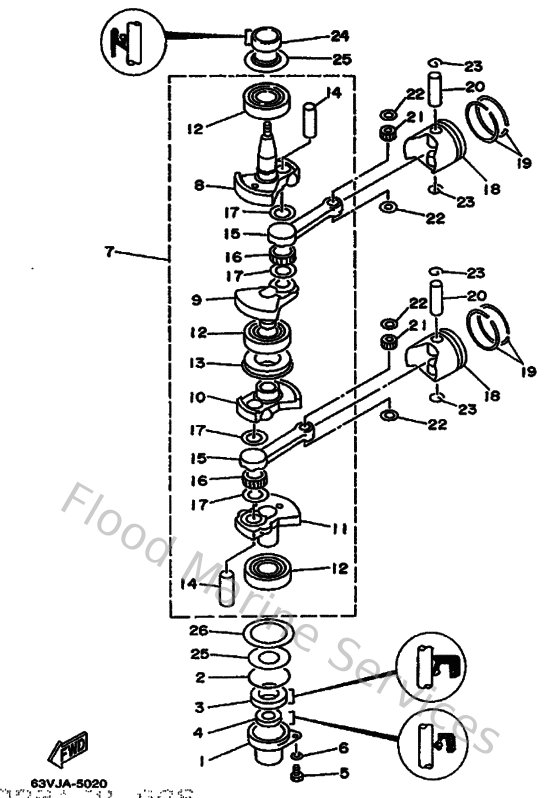
Diagram: Crankshaft & Piston
Parts List
Reference
Description
Price
1
63V153960000
Housing, oil seal
Loading…
↗
2
9321046M1600
O-ring (688)
Loading…
↗
3
9310225M4800
Oil seal(63v)
Loading…
↗
4
9310113M1100
Oil seal (682)
Loading…
↗
5
970950601600
Bolt, hexagon deep recess
Loading…
↗
6
929950660000
Washer, plain (646)
Loading…
↗
7
63V114000100
Crankshaft assembly
Loading…
↗
8
63V114120000
Crank 1
Loading…
↗
9
63V114220000
Crank 2
Loading…
↗
10
63V114320000
Crank 3
Loading…
↗
11
63V114420000
Crank 4
Loading…
↗
12
93306205U700
Bearing(63v)
Loading…
↗
13
63V115150000
Seal, labyrinth 1
Loading…
↗
14
682116810000
Pin crank
Loading…
↗
15
650116510400
Rod, connecting
Loading…
↗
16
93310620V500
Bearing, big end (682)
Loading…
↗
17
902092015900
Washer, crank pin (1h9)
Loading…
↗
18
6E7116310097
Piston (std)
Loading…
↗
19
682116102100
Piston ring set (2nd o/s)
Loading…
↗
20
634116330000
Pin, piston
Loading…
↗
21
936021410400
Pin, dowel
Loading…
↗
22
902011437700
Washer, plate
Loading…
↗
23
934501502300
Circlip 131116340000
Loading…
↗
24
9311023M0000
Oil seal (682)
Loading…
↗
25
63V114450000
Spacer
Loading…
↗
26
9020146M2900
Washer, plate(63v)
Loading…
↗