Yamaha Outboard Parts - Crankshaft & Piston - 25DMH (1998) | Flood Marine
New Search
Parts
New Outboards
Home
25DMH (1998)
Crankshaft & Piston
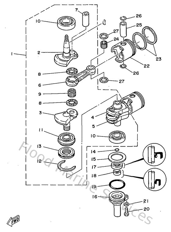
Diagram: Crankshaft & Piston
Parts List
Reference
Description
Price
1
695114000000
Crankshaft Assembly
Loading…
↗
2
695114120000
Crank 1
Loading…
↗
3
6G0114220000
Crank 2
Loading…
↗
4
6G0114320000
Crank 3
Loading…
↗
6
648116510400
Rod, connecting
Loading…
↗
7
648116810000
Pin,crank
Loading…
↗
8
902092224800
Washer (29l)
Loading…
↗
9
93310522W000
Bearing, needle (6g0)
Loading…
↗
10
93306305U300
Bearing(6j8)
Loading…
↗
11
933900000900
Brg,cyl-cal roller 260g nt
Loading…
↗
12
934406205700
Cir clip (656)
Loading…
↗
13
656115150000
Seal, Labyrinth 1
Loading…
↗
14
932101627500
O-ring
Loading…
↗
15
902015030600
Washer plate 648115870000
Loading…
↗
16
68915396015B
Housing, oil seal
Loading…
↗
17
9310125M3500
Oil seal(6a4)
Loading…
↗
18
9310116M3600
Oil seal(6a8)
Loading…
↗
19
9321058M2100
O-ring (683)
Loading…
↗
20
973950602200
Bolt(61k)
Loading…
↗
21
929900660000
Washer, plain (646)
Loading…
↗
22
664116368000
Piston (2Nd O.s)
Loading…
↗
23
664116105000
Piston Ring Set (0.50Mm O/s)
Loading…
↗
24
9360220M0200
Pin, dowel b (664)
Loading…
↗
25
648116330000
Pin,piston
Loading…
↗
26
934502002600
Clip 6041163400
Loading…
↗
27
902011852200
Washer (656)
Loading…
↗