Yamaha Outboard Parts - Crankshaft & Piston - 25VMH (2001) | Flood Marine
New Search
Parts
New Outboards
Home
25VMH (2001)
Crankshaft & Piston
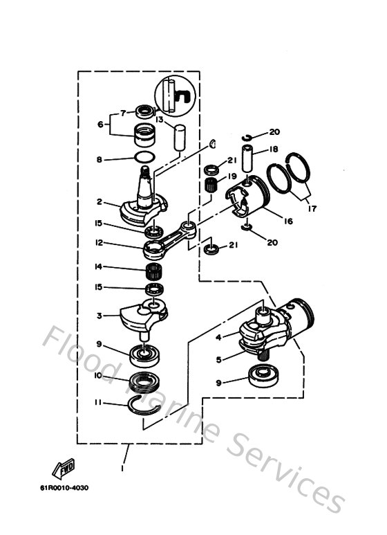
Diagram: Crankshaft & Piston
Parts List
Reference
Description
Price
1
61N114000100
Crankshaft Assembly
Loading…
↗
2
61N114120100
Crank 1
Loading…
↗
3
61N114220000
Crank 2
Loading…
↗
4
61N114320000
Crank 3
Loading…
↗
5
61N114420000
Crank 4
Loading…
↗
6
93311632V400
Bearing, cylindrical(61n)
Loading…
↗
7
9310232M0700
Oil seal (697)
Loading…
↗
8
932104215900
O-ring (647)
Loading…
↗
9
93306305U300
Bearing(6j8)
Loading…
↗
10
61N115150000
Seal, labyrinth 1
Loading…
↗
11
934406205700
Cir clip (656)
Loading…
↗
12
689116510000
Rod, connecting
Loading…
↗
13
689116810100
Pin, crank
Loading…
↗
14
93310624U500
Brg,cyl-cal roller 37g (689)
Loading…
↗
15
9020924M0300
Washer, plate (689)
Loading…
↗
16
61N116310095
Piston (std)
Loading…
↗
17
61N116050000
Piston ring set (0.50mm o/s)
Loading…
↗
18
689116330000
Pin, piston
Loading…
↗
19
9360220M0200
Pin, dowel b (664)
Loading…
↗
20
688116340000
Clip, piston pin
Loading…
↗
21
9020120M2700
Washer, plate (689)
Loading…
↗