Yamaha Outboard Parts - Crankshaft & Piston - 30AMH (1985) | Flood Marine
New Search
Parts
New Outboards
Home
30AMH (1985)
Crankshaft & Piston
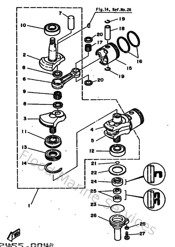
Diagram: Crankshaft & Piston
Parts List
Reference
Description
Price
2
689114120300
Crank 1
Loading…
↗
3
689114220200
Crank 2
Loading…
↗
4
689114320200
Crank 3
Loading…
↗
5
689114420200
Crank 4
Loading…
↗
6
689116510000
Rod, connecting
Loading…
↗
7
689116810100
Pin, crank
Loading…
↗
8
9020924M0300
Washer, plate (689)
Loading…
↗
9
93310624U500
Brg,cyl-cal roller 37g (689)
Loading…
↗
10
93306306U100
Brg R-B 6306 72Mm (6A8)
Loading…
↗
11
933900000900
Brg,cyl-cal roller 260g nt
Loading…
↗
12
933063051000
Bearing
Loading…
↗
14
934406205700
Cir clip (656)
Loading…
↗
15
689116310095
Piston Std
Loading…
↗
16
689116102100
Piston Ring Set Os (2Nd O/s)
Loading…
↗
17
9360220M0200
Pin, dowel b (664)
Loading…
↗
18
689116330000
Pin, piston
Loading…
↗
19
663116340000
Clip, piston pin
Loading…
↗
20
9020120M2700
Washer, plate (689)
Loading…
↗
21
932101627500
O-ring
Loading…
↗
22
902015030600
Washer plate 648115870000
Loading…
↗
23
9321058M2100
O-ring (683)
Loading…
↗
24
9310225M2800
Oil seal(6h4)
Loading…
↗
25
9310416M0100
Oil seal(6a8)
Loading…
↗
26
689153960094
Housing, oil seal
Loading…
↗
27
973950602200
Bolt(61k)
Loading…
↗
28
929900660000
Washer, plain (646)
Loading…
↗