Yamaha Outboard Parts - Crankshaft & Piston - 30DMH (1986) | Flood Marine
New Search
Parts
New Outboards
Home
30DMH (1986)
Crankshaft & Piston
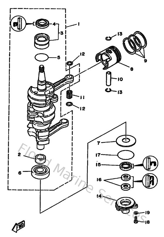
Diagram: Crankshaft & Piston
Parts List
Reference
Description
Price
1
6J8114000000
Crankshaft assembly
Loading…
↗
2
6J8114450000
Spacer
Loading…
↗
3
93313628U000
Bearing, Cylinder#13
Loading…
↗
5
932104215900
O-ring (647)
Loading…
↗
6
93306305U300
Bearing(6j8)
Loading…
↗
7
902015030600
Washer plate 648115870000
Loading…
↗
8
6J8116310097
Piston (Std)
Loading…
↗
9
6J8116102000
Piston Ring Set (0.50Mm O.s.)
Loading…
↗
10
6J8116330000
Pin, piston
Loading…
↗
11
9360216M1000
Pin, dowel(6j8)
Loading…
↗
12
902011637900
Washer plate
Loading…
↗
13
4V2116340000
Circlip(1ar)
Loading…
↗
14
6J81539600CA
Housing, oil seal
Loading…
↗
15
9310125M2800
Oil seal(6j8)
Loading…
↗
16
9310416M0400
Oil seal(6a8)
Loading…
↗
17
9321056M8000
O-ring(6j8)
Loading…
↗
18
973130601600
Bolt, hexagon deep recess
Loading…
↗
19
929900660000
Washer, plain (646)
Loading…
↗