Yamaha Outboard Parts - Crankshaft & Piston - E8DMH (1997) | Flood Marine
New Search
Parts
New Outboards
Home
E8DMH (1997)
Crankshaft & Piston
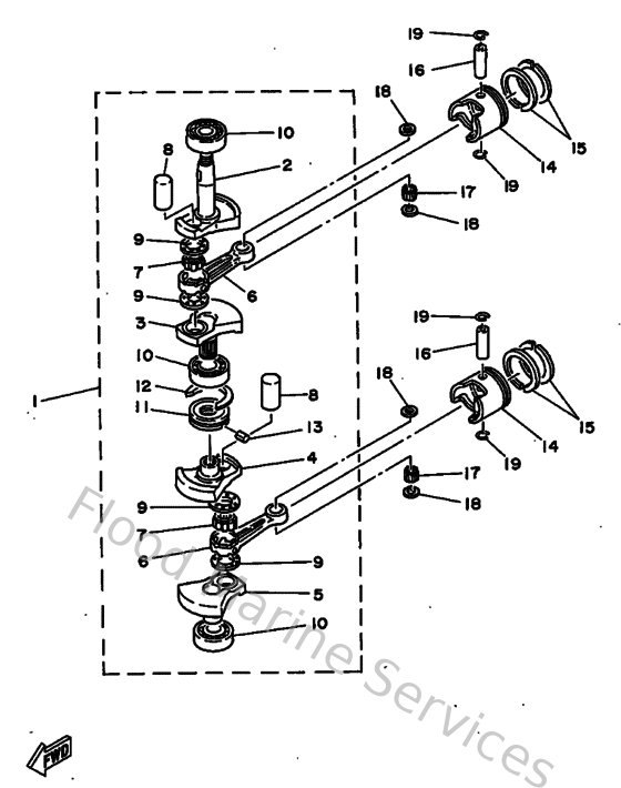
Diagram: Crankshaft & Piston
Parts List
Reference
Description
Price
1
677114000200
Crankshaft assembly
Loading…
↗
2
677114120200
Crank 1
Loading…
↗
3
677114220200
Crank 2
Loading…
↗
4
677114320200
Crank 3
Loading…
↗
5
677114420200
Crank 4
Loading…
↗
6
6E0116510100
Rod, connecting
Loading…
↗
7
93310418U000
Bearing 12g tm
Loading…
↗
8
6G1116810000
Pin, crank
Loading…
↗
9
902091811200
Washer 132116850000
Loading…
↗
10
93306204U000
Bearing(6e0)
Loading…
↗
11
677115150100
Seal, labyrinth 1
Loading…
↗
12
934404705500
Cir clip (655)
Loading…
↗
13
916903001000
Pin, spring (663)
Loading…
↗
14
677116310097
Piston (s.t.d) 0.97
Loading…
↗
15
647116102000
Piston ring set (2nd o/s)
Loading…
↗
16
6G1116330000
Pin, piston
Loading…
↗
17
936021411800
Pin dowel (655)
Loading…
↗
18
902011256500
Washer, plate (655)
Loading…
↗
19
934501302200
Circlip 132116340000
Loading…
↗