Yamaha Outboard Parts - Cylinder & Crankcase - 4ACMH (1986) | Flood Marine
New Search
Parts
New Outboards
Home
4ACMH (1986)
Cylinder & Crankcase
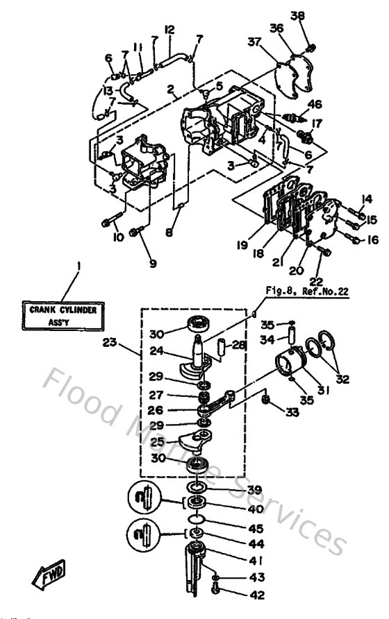
Diagram: Cylinder & Crankcase
Parts List
Reference
Description
Price
1
6E0W009021EJ
Crank Cylinder assembly
Loading…
↗
2
6E0151000194
Crankcase assembly
Loading…
↗
3
650113700000
Check valve assembly
Loading…
↗
4
624144850000
Pipe, joint
Loading…
↗
5
6E5113720100
Nipple, hose
Loading…
↗
6
9044507M2800
Hose (l200)
Loading…
↗
7
904670601600
Clip (655)
Loading…
↗
8
936061201900
Pin, dowel (614)
Loading…
↗
9
9010506M1600
Bolt (6e0)
Loading…
↗
10
9010506M1700
Bolt (6e0)
Loading…
↗
11
6E0243780000
Pipe, joint
Loading…
↗
12
9044507MA300
Hose (l200)
Loading…
↗
13
9044507M0000
Hose (l200)
Loading…
↗
14
958950602500
Bolt, flange deep recess
Loading…
↗
16
9010506M1400
Bolt (6e0)
Loading…
↗
17
6E5124110000
Thermostat
Loading…
↗
18
6E041111011S
Inner cover, exhaust
Loading…
↗
19
6E0411120100
Gasket,inner cover exhaust
Loading…
↗
20
6E041113019M
Outer cover, exhaust
Loading…
↗
21
6E0411140100
Gasket,outer cover exhaust
Loading…
↗
23
6E0114000000
Crank assembly
Loading…
↗
24
6E0114120000
Crank 1
Loading…
↗
25
6E0114220000
Crank 2
Loading…
↗
26
6E0116510100
Rod, connecting
Loading…
↗
27
93310418V100
Bearing (6e0)
Loading…
↗
28
6G1116810000
Pin, crank
Loading…
↗
29
902091811200
Washer 132116850000
Loading…
↗
30
933062041100
Bearing(6e0)
Loading…
↗
31
6E0116310098
Piston
Loading…
↗
32
6G1116100000
Piston ring set (std)
Loading…
↗
33
93310112V000
Bearing (6e0)
Loading…
↗
34
6G1116330000
Pin, piston
Loading…
↗
35
934501302200
Circlip 132116340000
Loading…
↗
36
6E011191019M
Cover, cylinder head 1
Loading…
↗
37
6E011193A100
Gasket,head cover
Loading…
↗
39
9020132M4800
Shim (t:0.90mm)
Loading…
↗
40
9310220M0600
Oil seal(6j1)
Loading…
↗
41
6E015396019M
Housing, oil seal
Loading…
↗
42
970950601600
Bolt, hexagon deep recess
Loading…
↗
43
929900660000
Washer, plain (646)
Loading…
↗
44
9310111M2500
Oil seal(6e0)
Loading…
↗
45
932103111400
O-ring
Loading…
↗
46
947020027200
Plug, spark (br7hs)
Loading…
↗