Yamaha Outboard Parts - Cylinder & Crankcase - LZ150PETO (2001) | Flood Marine
New Search
Parts
New Outboards
Home
LZ150PETO (2001)
Cylinder & Crankcase
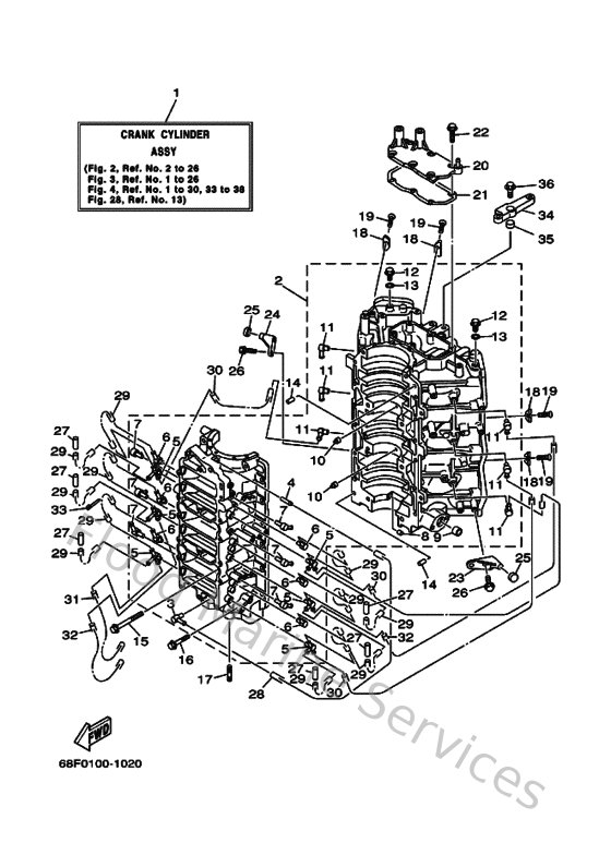
Diagram: Cylinder & Crankcase
Parts List
Reference
Description
Price
1
68HW0090111S
Crank Cylinder assembly
Loading…
↗
2
68H15100001S
Crankcase assembly
Loading…
↗
3
6E5113720000
Nipple, hose
Loading…
↗
4
624144850000
Pipe, joint
Loading…
↗
5
68F113720100
Nipple, hose
Loading…
↗
6
650113700000
Check valve assembly
Loading…
↗
7
68F135520000
Nozzle
Loading…
↗
8
9038406M0700
Bush, bimetal formed(6r3)
Loading…
↗
9
903841401100
Bush, bimetal formed
Loading…
↗
10
663115180100
Lock, bearing
Loading…
↗
11
646113700000
Check valve assembly
Loading…
↗
12
9034014M0000
Plug, straight screw(62y)
Loading…
↗
13
904301411500
Gasket (663)
Loading…
↗
14
936081206300
Pin, dowel (626)
Loading…
↗
15
9010510M2000
Bolt (6e5)
Loading…
↗
16
9011908M9400
Bolt, with washer
Loading…
↗
17
9011608M4500
Bolt, stud (6e5)
Loading…
↗
18
6E5113250000
Anode
Loading…
↗
19
987800401400
Screw, flat head(ga5)
Loading…
↗
20
68F11371001S
Cover
Loading…
↗
21
68F113810000
Gasket 1
Loading…
↗
22
9011906MA200
Bolt, with washer
Loading…
↗
23
6E542761001S
Stopper
Loading…
↗
24
6E542762001S
Stopper
Loading…
↗
25
68F445330100
Damper, upper mount rubber
Loading…
↗
27
9044507M0300
Hose (l200)
Loading…
↗
28
904450700600
Hose (l770)
Loading…
↗
29
9044507MA600
Hose (l200)
Loading…
↗
30
9044507MA400
Hose (l390)
Loading…
↗
31
9044507M9000
Hose (l390)
Loading…
↗
32
9044507M2700
Hose (l390)
Loading…
↗
33
9046407M2000
Clamp(6h0)
Loading…
↗
34
68F137820000
Stay
Loading…
↗
35
9038708M3100
Collar
Loading…
↗
36
9011008M0400
Bolt, hexagon socket head
Loading…
↗