Yamaha Outboard Parts - Cylinder & Crankcase - Z150PETOL (2001) | Flood Marine

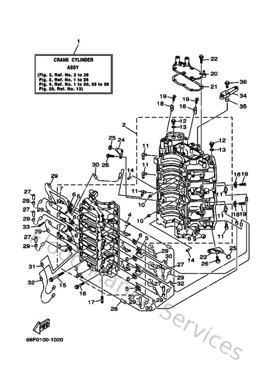
Diagram: Cylinder & Crankcase

Diagram

Parts List

Reference
Description
Price