Yamaha Outboard Parts - Cylinder & Crankcase 1 - 130BETOL (1998) | Flood Marine
New Search
Parts
New Outboards
Home
130BETOL (1998)
Cylinder & Crankcase 1
Diagram: Cylinder & Crankcase 1
Parts List
Reference
Description
Price
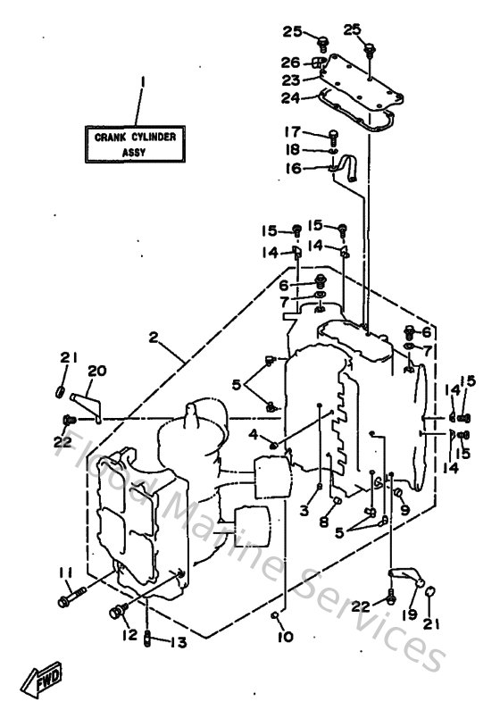
1
6N6W0090154D
Crank cylinder assembly
Loading…
↗
2
6N7151000200
Crankcase assembly
Loading…
↗
3
624113790000
Valve, check
Loading…
↗
4
663115180100
Lock, bearing
Loading…
↗
5
6E5113720100
Nipple, hose
Loading…
↗
6
9034014M0000
Plug, straight screw(62y)
Loading…
↗
7
904301411500
Gasket (663)
Loading…
↗
8
9038406M0700
Bush, bimetal formed(6r3)
Loading…
↗
9
903841401100
Bush, bimetal formed
Loading…
↗
10
936081206300
Pin, dowel (626)
Loading…
↗
11
9010510M2000
Bolt (6e5)
Loading…
↗
13
9011608M1400
Bolt, stud (6e5)
Loading…
↗
14
6E5113250000
Anode
Loading…
↗
15
987800401500
Screw, flat head(ga5)
Loading…
↗
16
6E5111190000
Hanger, Engine
Loading…
↗
17
970800802000
Bolt(6td)
Loading…
↗
18
929900810000
Ybs67-8 washer, spring
Loading…
↗
19
6E5427610094
Stopper
Loading…
↗
20
6E542762001S
Stopper
Loading…
↗
21
663445330000
Damper, upper mount
Loading…
↗
22
975950652000
Bolt(7u8)
Loading…
↗
23
6K711371011S
Cover
Loading…
↗
24
6E511381A200
Gasket 1
Loading…
↗
26
904650802800
Clamp (1e6)
Loading…
↗