Yamaha Outboard Parts - Cylinder & Crankcase 1 - 250AETOXLX (1996) | Flood Marine
New Search
Parts
New Outboards
Home
250AETOXLX (1996)
Cylinder & Crankcase 1
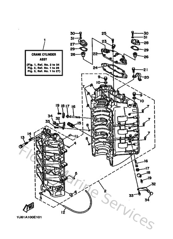
Diagram: Cylinder & Crankcase 1
Parts List
Reference
Description
Price
1
61AW0090154D
Crank Cylinder Assembly (Ref. #2~34 & Cylinder - Crank)
Loading…
↗
2
62J151000394
CDI UNIT ASY
Loading…
↗
3
6E5113720000
Nipple, hose
Loading…
↗
4
624144850000
Pipe, joint
Loading…
↗
5
9038406M0700
Bush, bimetal formed(6r3)
Loading…
↗
6
9038316M0100
Bush, formed(61a)
Loading…
↗
7
6E5113720100
Nipple, hose
Loading…
↗
8
663115180100
Lock, bearing
Loading…
↗
9
9034014M0000
Plug, straight screw(62y)
Loading…
↗
10
904301411500
Gasket (663)
Loading…
↗
11
936081206300
Pin, dowel (626)
Loading…
↗
12
904450700600
Hose (l770)
Loading…
↗
13
9010510M6200
Bolt, washer based(61a)
Loading…
↗
14
9011906M1300
Bolt, with washer (682)
Loading…
↗
15
6G5125810000
Joint, hose
Loading…
↗
16
61A113250000
Anode
Loading…
↗
17
6H3113280000
Grommet, anode
Loading…
↗
18
6H3113270094
Cover, anode
Loading…
↗
19
975130651600
Bolt, hexagon deep recess
Loading…
↗
20
6E5111190000
Hanger, Engine
Loading…
↗
21
975130852000
Bolt, with washer(61b)
Loading…
↗
22
61A11371001S
Cover
Loading…
↗
23
904650802800
Clamp (1e6)
Loading…
↗
24
61A11381A000
Gasket 1
Loading…
↗
25
975130652000
Bolt, with washer(61b)
Loading…
↗
26
6E5124113000
Thermostat
Loading…
↗
27
61A12413009M
Cover, thermostat
Loading…
↗
28
61A12413109M
Cover, thermostat
Loading…
↗
29
61A12414A000
Gasket, cover
Loading…
↗
30
970140603500
Bolt(3rv)
Loading…
↗
31
929900660000
Washer, plain (646)
Loading…
↗
32
6E5427610094
Stopper
Loading…
↗
34
663445330000
Damper, upper mount
Loading…
↗