Yamaha Outboard Parts - Cylinder & Crankcase 2 - F40BM (2001) | Flood Marine
New Search
Parts
New Outboards
Home
F40BM (2001)
Cylinder & Crankcase 2
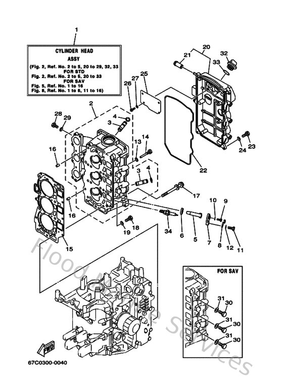
Diagram: Cylinder & Crankcase 2
Parts List
Reference
Description
Price
1
67CW009A004D
Cylinder Head Complete
Loading…
↗
2
67C11111301S
Head, Cylinder 1
Loading…
↗
3
62Y111331000
Guide, valve 1
Loading…
↗
4
9345009M0100
Circlip (6g8)
Loading…
↗
5
62Y113250000
Anode
Loading…
↗
6
66M113280000
Grommet, anode
Loading…
↗
7
66M113270094
Cover, anode
Loading…
↗
8
66M125350000
Plate
Loading…
↗
9
970950501200
Bolt, hexagon
Loading…
↗
10
929950560000
Washer, plain (646)
Loading…
↗
11
970130602000
Bolt(62y)
Loading…
↗
12
929900660000
Washer, plain (646)
Loading…
↗
13
904300601400
Gasket 256113960000
Loading…
↗
14
9010906M6500
Bolt(62y)
Loading…
↗
15
67C111810100
Gasket, cylinder head 1
Loading…
↗
16
995300801200
Pin, dowel(6g8)
Loading…
↗
17
9011909M0000
Bolt, with washer(62y)
Loading…
↗
18
970130602500
Bolt(62y)
Loading…
↗
19
929030660000
Washer, plain (646)
Loading…
↗
20
67C111910094
Cover, Cylinder Head 1
Loading…
↗
21
62Y144850000
Pipe, joint
Loading…
↗
22
67C113560000
Seal, cylinder 2
Loading…
↗
25
67C111680000
Cover, Breather
Loading…
↗
26
985070401000
Screw, pan head(6g8)
Loading…
↗
27
929070460000
Washer(jf2)
Loading…
↗
28
970950601000
Bolt
Loading…
↗
30
904300814300
Gasket (256-11198-00)
Loading…
↗
31
970950801400
Bolt, hexagon deep recess
Loading…
↗
32
6G8153630000
Plug, oil
Loading…
↗
33
9321024M7900
O-ring
Loading…
↗
34
947010037500
Plug, spark (dpr6ea-9)(62y)
Loading…
↗