Yamaha Outboard Parts - Electrical - 50DEMTO (1988) | Flood Marine

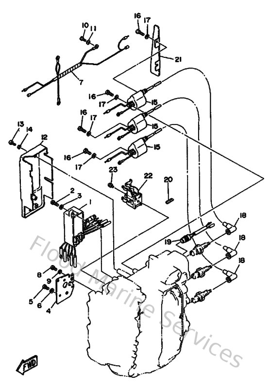
Diagram: Electrical

Diagram