Yamaha Outboard Parts - Electrical 1 - 50DEMTO (1987) | Flood Marine
New Search
Parts
New Outboards
Home
50DEMTO (1987)
Electrical 1
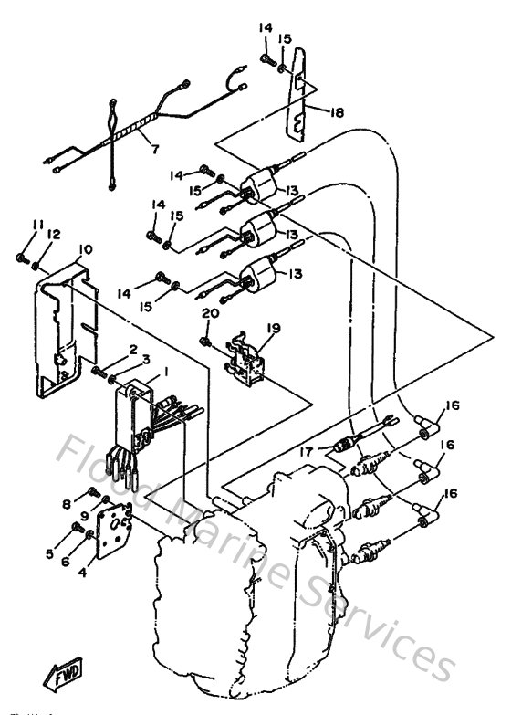
Diagram: Electrical 1
Parts List
Reference
Description
Price
1
6H4855402100
Cdi Unit Assembly
Loading…
↗
7
6H4825310100
Wire, Lead
Loading…
↗
10
6H4819160000
Cover, terminal
Loading…
↗
13
6H4855702000
Ignition coil assembly
Loading…
↗
16
6G1823702000
Plug cap assembly
Loading…
↗
17
689825600000
Thermo switch assembly
Loading…
↗