Yamaha Outboard Parts - Fuel - 8CEM (1985) | Flood Marine
New Search
Parts
New Outboards
Home
8CEM (1985)
Fuel
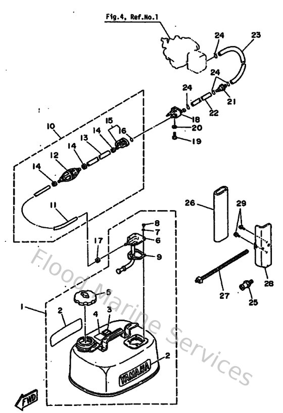
Diagram: Fuel
Parts List
Reference
Description
Price
3
6Y1242558000
Graphic, Fuel Tank 8
Loading…
↗
5
647246100200
Cap assembly
Loading…
↗
7
630243290000
Seal
Loading…
↗
8
978850501600
Screw, pan head(6b0)
Loading…
↗
9
663242680000
Gasket, housing fuel meter
Loading…
↗
10
6Y0243060100
Fuel pipe comp. 1
Loading…
↗
11
9044511M8100
Hose (l3000)
Loading…
↗
12
6Y1243600000
Primer pump assembly
Loading…
↗
13
9044511M7800
Hose (l1000)
Loading…
↗
14
650243510000
Band 1
Loading…
↗
15
6G1243050500
Fuel pipe joint comp. 2
Loading…
↗
16
932100828700
O-ring (655)
Loading…
↗
18
6G1243041000
Fuel pipe joint comp. 1
Loading…
↗
19
973130602500
Bolt
Loading…
↗
20
929030660000
Washer, plain (646)
Loading…
↗
21
646242510200
Strainer 1
Loading…
↗
22
904450922100
Hose (l1500)
Loading…
↗
23
90445090F600
Hose (l1500)
Loading…
↗
24
904670800400
Clip, pipe 6162435600
Loading…
↗
25
6E0281930094
Plug, water check
Loading…
↗
26
6E0281000000
Tool kit
Loading…
↗
27
904641515200
Clamp(mf1)
Loading…
↗
28
6G1281700000
Holder, Tool
Loading…
↗
29
9010506M2300
Bolt (6g1)
Loading…
↗