Yamaha Outboard Parts - Fuel - E60HM (2001) | Flood Marine
New Search
Parts
New Outboards
Home
E60HM (2001)
Fuel
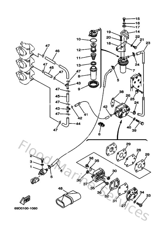
Diagram: Fuel
Parts List
Reference
Description
Price
1
6G1243040200
Fuel pipe joint comp. 1
Loading…
↗
2
970950602500
Bolt
Loading…
↗
3
929950660000
Washer, plain (646)
Loading…
↗
4
69D243110000
Pipe, fuel 1
Loading…
↗
5
904651009800
Clamp
Loading…
↗
6
9046410M5900
Clamp
Loading…
↗
7
61A245600400
Filter assy
Loading…
↗
8
61A245210000
Cup, filter
Loading…
↗
9
65L245310000
Nut
Loading…
↗
10
61A245640000
O-ring
Loading…
↗
11
61A245770100
Spring
Loading…
↗
12
61A245630000
Element, filter
Loading…
↗
13
61A244690000
Float, water level
Loading…
↗
14
65L245580000
Holder, filter
Loading…
↗
15
970950601600
Bolt, hexagon deep recess
Loading…
↗
16
929950610000
Washer(6a1)
Loading…
↗
17
902010606800
Washer,plate (6k8)
Loading…
↗
19
970950601400
Bolt(gj3)
Loading…
↗
20
929900660000
Washer, plain (646)
Loading…
↗
23
69D243120000
Pipe 2
Loading…
↗
24
9046511M1000
Clamp
Loading…
↗
25
9046508M8300
Clamp
Loading…
↗
26
692244100000
Fuel pump assembly
Loading…
↗
27
6A0244130000
Cover, pump
Loading…
↗
28
692244110000
Diaphragm
Loading…
↗
29
648244340100
Gasket, body
Loading…
↗
30
953800360000
Nut (6g8)
Loading…
↗
31
663244110000
Diaphragm
Loading…
↗
32
648244350200
Gasket, body 2
Loading…
↗
33
985170503000
Screw, pan head
Loading…
↗
34
929900510000
Ybs67-5 washer, spring
Loading…
↗
35
6A0244210100
Valve, check
Loading…
↗
36
6A0143250000
Screw, pan head
Loading…
↗
37
6A0244120200
Body 1
Loading…
↗
38
65024431A000
Gasket,fuel pump
Loading…
↗
39
970950604000
Bolt (682)
Loading…
↗
41
904450907200
Hose (l1500)
Loading…
↗
42
904670800400
Clip, pipe 6162435600
Loading…
↗
43
688243780000
Pipe, joint
Loading…
↗
44
6A4243120000
Pipe, fuel 2
Loading…
↗
45
904450922000
Hose (l1500)
Loading…
↗
46
6H3243140000
Pipe 4
Loading…
↗
48
656W28100200
Tool kit
Loading…
↗