Yamaha Outboard Parts - Generator - 2BMH (1988) | Flood Marine
New Search
Parts
New Outboards
Home
2BMH (1988)
Generator
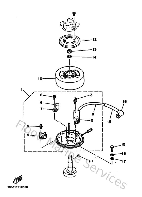
Diagram: Generator
Parts List
Reference
Description
Price
2
6A1813112000
Coil, Ignition 1
Loading…
↗
3
901590504000
Screw, pan head(4my)
Loading…
↗
4
806813212000
Contact breaker assembly (l.h)
Loading…
↗
5
985070401000
Screw, pan head(6g8)
Loading…
↗
6
624813252000
Condenser
Loading…
↗
7
116813312000
Lubricator
Loading…
↗
8
110813462100
Screw, pan head
Loading…
↗
11
9028004M0600
Key, woodruff(6a1)
Loading…
↗
12
6A1813620000
Cover, hole 1
Loading…
↗
13
953141060000
Nut(3bm)
Loading…
↗
14
929901010000
Ybs67-10 washer, spring
Loading…
↗
15
973130603000
Bolt
Loading…
↗
16
929900610000
Washer(6a1)
Loading…
↗
17
929900660000
Washer, plain (646)
Loading…
↗
18
6G1823702000
Plug cap assembly
Loading…
↗