Yamaha Outboard Parts - Intake - 115BETO (2001) | Flood Marine
New Search
Parts
New Outboards
Home
115BETO (2001)
Intake
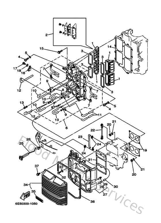
Diagram: Intake
Parts List
Reference
Description
Price
1
6E5136100000
Reed valve assembly
Loading…
↗
2
6E5W00040000
Reed set
Loading…
↗
3
6E513621A100
Gasket, valve seat
Loading…
↗
4
978800502500
Screw, panhead (a93)
Loading…
↗
5
929900560000
Washer, plain (646)
Loading…
↗
6
6E513641111S
Manifold 1
Loading…
↗
7
6E5135520000
Nozzle
Loading…
↗
8
624144850000
Pipe, joint
Loading…
↗
9
6E5113700000
Check valve assembly
Loading…
↗
10
9044507MA300
Hose (l200)
Loading…
↗
11
9044507M2400
Hose (l390)
Loading…
↗
12
9044507M4600
Hose (l390)
Loading…
↗
13
9011606M3000
Bolt, stud(6e5)
Loading…
↗
14
6E513645A100
Gasket, manifold 1
Loading…
↗
15
9011906MA300
Bolt, with washer
Loading…
↗
16
9046506M8600
Clamp
Loading…
↗
17
970950601200
Bolt(gh1)
Loading…
↗
18
929900660000
Washer, plain (646)
Loading…
↗
19
6E514198A200
Gasket
Loading…
↗
20
953800660000
Nut(661)
Loading…
↗
21
929950610000
Washer(6a1)
Loading…
↗
22
6E5412170100
Rod, accel. lever
Loading…
↗
23
6E5412560100
Rod, choke 1
Loading…
↗
24
661412620200
Joint, choke lever
Loading…
↗
25
6E5412710200
Knob, choke
Loading…
↗
26
689412730000
Grommet
Loading…
↗
27
6E5144171094
Cover 1
Loading…
↗
29
6E5144850000
Pipe, joint
Loading…
↗
30
9044507M2300
Hose (l570)
Loading…
↗
31
6E514483A100
Gasket
Loading…
↗
32
970130602000
Bolt(62y)
Loading…
↗
33
929030660000
Washer, plain (646)
Loading…
↗
34
6E5Y106P0000
Cover 2
Loading…
↗
35
6E51441K0000
Emblem 1
Loading…
↗
36
6E514416A100
Gasket, air cleaner
Loading…
↗
37
9011906M3100
Bolt, with washer(680)
Loading…
↗