Yamaha Outboard Parts - Intake - 4ACMH (1993) | Flood Marine
New Search
Parts
New Outboards
Home
4ACMH (1993)
Intake
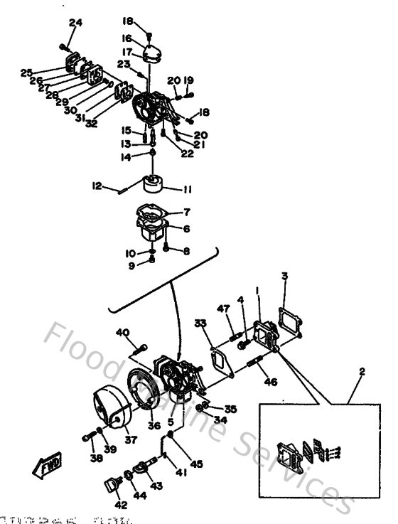
Diagram: Intake
Parts List
Reference
Description
Price
1
6E0136100000
Reed valve assembly
Loading…
↗
2
6E0W00040000
Reed set
Loading…
↗
3
6E013621A100
Gasket, valve seat
Loading…
↗
4
958950601600
Bolt, flange deep recess
Loading…
↗
5
6E0143010500
Carburetor assembly 1
Loading…
↗
6
6E0143810100
Float chamber assembly
Loading…
↗
7
6E0143840000
Gasket, float chamber
Loading…
↗
8
976030411600
Screw, pan head with washer
Loading…
↗
9
677143830100
Screw, drain
Loading…
↗
10
6A1143980000
Gasket
Loading…
↗
11
6E7143850000
Float
Loading…
↗
12
647143861000
Pin, float
Loading…
↗
13
6E0143410100
Nozzle, main
Loading…
↗
14
648143434000
Jet, main (#80)
Loading…
↗
15
6G8143921000
Valve Needle
Loading…
↗
16
6E0141570000
Cover, plate
Loading…
↗
17
6E0142270000
Gasket
Loading…
↗
18
985800400600
Screw, pan head (7h3)
Loading…
↗
19
647143230000
Screw, air adjusting
Loading…
↗
20
646142120100
Spring, pilot adjusting
Loading…
↗
21
664143210100
Screw, throttle
Loading…
↗
22
648143422300
Jet, pilot (#46)
Loading…
↗
23
647143260000
Screw, guide
Loading…
↗
25
6E0244130000
Cover, pump
Loading…
↗
26
6E0244710000
Diaphragm
Loading…
↗
27
6E0244350000
Gasket, cover pump
Loading…
↗
28
6E0244120000
Body, pump
Loading…
↗
29
6E0244230000
Spring
Loading…
↗
30
6E0143460000
Plate
Loading…
↗
31
6E0244110000
Diaphragm
Loading…
↗
32
6E0244340000
Gasket, body pump
Loading…
↗
33
6E014198A000
Gasket
Loading…
↗
34
953800670000
Nut
Loading…
↗
35
929900660000
Washer, plain (646)
Loading…
↗
36
6E0144170000
Cover 1
Loading…
↗
37
6E0144180000
Cover 2
Loading…
↗
38
985800552500
Screw, panhead (a93)
Loading…
↗
39
929070560000
Washer(1rw)
Loading…
↗
40
977804072000
Ybs81-420 screw,0.head tapping
Loading…
↗
41
6E0412560000
Rod, choke link
Loading…
↗
42
6E0412710000
Knob, choke
Loading…
↗
43
6E0412720000
Knob, choke 2
Loading…
↗
44
9020212M1600
Washer, plate (6e0)
Loading…
↗
45
661412620200
Joint, choke lever
Loading…
↗
46
956220632500
Bolt, stud(6e0)
Loading…
↗
47
9011906M0800
Bolt, with washer
Loading…
↗