Yamaha Outboard Parts - Intake - 55BM (1997) | Flood Marine
New Search
Parts
New Outboards
Home
55BM (1997)
Intake
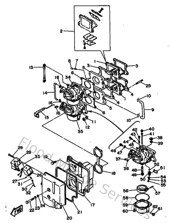
Diagram: Intake
Parts List
Reference
Description
Price
1
697136100000
Reed valve ass'y
Loading…
↗
2
692W00040000
Reed set
Loading…
↗
3
66313621A000
Packing, valve seat 1
Loading…
↗
4
66313622A000
Packing, valve seat 2
Loading…
↗
5
663136410294
Manifold, Intake 1
Loading…
↗
6
66314198A000
Gasket
Loading…
↗
7
624144850000
Pipe, joint
Loading…
↗
8
647143956000
Cap,over flow pipe
Loading…
↗
9
663243210000
Hose
Loading…
↗
10
904670800400
Clip, pipe 6162435600
Loading…
↗
11
929950610000
Washer(6a1)
Loading…
↗
12
953800660000
Nut(661)
Loading…
↗
13
697412170100
Rod, accel. lever
Loading…
↗
14
663412570200
Rod, choke 2
Loading…
↗
15
663412564200
Rod, choke 1
Loading…
↗
16
661412620200
Joint, choke lever
Loading…
↗
17
697144170094
Cover 1
Loading…
↗
18
66314483A000
Gasket, plate
Loading…
↗
19
970950602500
Bolt
Loading…
↗
20
697144180094
Cover 2
Loading…
↗
21
697144160000
Gasket, air cleaner
Loading…
↗
22
970950604500
Bolt, hexagon
Loading…
↗
24
929900660000
Washer, plain (646)
Loading…
↗
25
901160617600
Stud(663)
Loading…
↗
26
663861100200
Solenoid coil assembly
Loading…
↗
27
916903001000
Pin, spring (663)
Loading…
↗
28
663861150000
Holder, solenoid
Loading…
↗
29
985800553000
Ybs86-530 screw,panhead
Loading…
↗
30
663861160100
Wire, pull
Loading…
↗
31
676861170000
Hook, wire pull
Loading…
↗
32
932100326100
O-ring (663)
Loading…
↗
33
663861180000
Damper
Loading…
↗
34
697145010400
Carburetor assembly 1
Loading…
↗
35
697145020400
Carburetor assembly 2
Loading…
↗
36
663149502700
Pilot, air jet(#100)
Loading…
↗
37
663149453200
Air jet, main (#125)
Loading…
↗
38
697149910000
Plug, screw
Loading…
↗
40
663145670100
Screw, plug
Loading…
↗
41
663149421900
Jet, pilot (#80)
Loading…
↗
42
63V145230000
Screw, stop
Loading…
↗
43
905011032600
Spring coil(663)(carb)
Loading…
↗
44
663149230000
Screw, adjust
Loading…
↗
45
905010821400
Spring, compression
Loading…
↗
46
6K5145920000
Screw
Loading…
↗
47
902010565200
Washer, plate(65j)
Loading…
↗
48
663149470100
Nozzle, main
Loading…
↗
49
663149433900
Jet, main (#160)
Loading…
↗
50
696145900000
Needle valve assembly
Loading…
↗
51
663141590000
Clip
Loading…
↗
52
932100722900
O-ring (371)
Loading…
↗
53
676141860000
Pin, valve
Loading…
↗
54
371149196000
Clip
Loading…
↗
55
985800400600
Screw, pan head (7h3)
Loading…
↗
56
6F0149850000
Float comp.
Loading…
↗
57
663145480000
Pin, arm
Loading…
↗
58
932106427200
O-ring (663) (carb)
Loading…
↗
59
663149800000
Body, float chamber
Loading…
↗
60
979800411200
Screw, pan head (686)
Loading…
↗
61
6H3149920000
Screw, drain
Loading…
↗
62
932100423000
O-ring (371)
Loading…
↗