Yamaha Outboard Parts - Intake - F45A (1997) | Flood Marine
New Search
Parts
New Outboards
Home
F45A (1997)
Intake
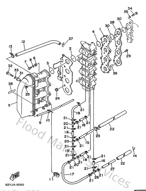
Diagram: Intake
Parts List
Reference
Description
Price
1
62Y135860094
Joint Carburetor 1
Loading…
↗
5
62Y144400000
Silencer assembly, intake
Loading…
↗
12
62Y153730000
Pipe, Breather
Loading…
↗
17
62Y243110000
Pipe, Fuel 1
Loading…
↗
19
4KN243110100
Pipe, fuel 1
Loading…
↗
20
688243780000
Pipe, joint
Loading…
↗
26
62Y243780000
Pipe, joint 4
Loading…
↗
28
62Y142710000
Insulator
Loading…
↗
38
6E0441911100
Indicator, shift
Loading…
↗