Yamaha Outboard Parts - Intake - P200ETOL (1994) | Flood Marine
New Search
Parts
New Outboards
Home
P200ETOL (1994)
Intake
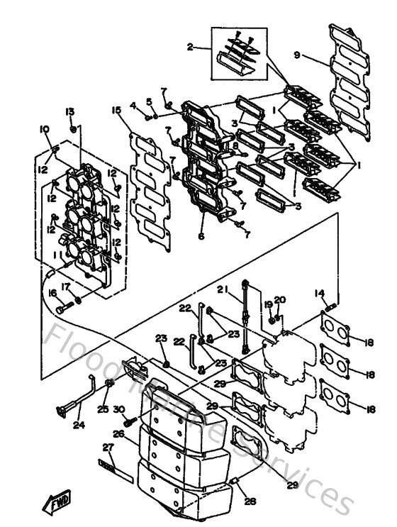
Diagram: Intake
Parts List
Reference
Description
Price
1
61H136100100
Reed Valve Assembly
Loading…
↗
3
6K713621A100
Gasket, valve seat
Loading…
↗
4
985800501600
Screw, pan head(6b0)
Loading…
↗
5
929900560000
Washer, plain (646)
Loading…
↗
7
6H4113720000
Nipple, hose
Loading…
↗
8
6R5144850000
Pipe, joint
Loading…
↗
9
6K713646A200
Gasket, manifold 2
Loading…
↗
11
624144850000
Pipe, joint
Loading…
↗
12
6E5135520000
Nozzle
Loading…
↗
13
9048010M2800
Grommet(6k7)
Loading…
↗
14
9011606M3000
Bolt, stud(6e5)
Loading…
↗
15
6K713645A100
Gasket Manifold 1
Loading…
↗
16
970130605000
Bolt, hexagon
Loading…
↗
17
929900660000
Washer, plain (646)
Loading…
↗
18
6E514198A100
Gasket
Loading…
↗
19
953800660000
Nut(661)
Loading…
↗
20
929950610000
Washer(6a1)
Loading…
↗
21
6G5412170100
Rod, accel. lever
Loading…
↗
22
6E5412560100
Rod, choke 1
Loading…
↗
23
661412620200
Joint, choke lever
Loading…
↗
24
61H412710100
Knob, Choke
Loading…
↗
25
689412730000
Grommet
Loading…
↗
26
6K7144400000
Silencer assembly, intake
Loading…
↗
28
9044507M0200
Hose (l200)
Loading…
↗
29
6K7144830000
Gasket
Loading…
↗
30
9015906M0800
Screw, with washer(6k7)
Loading…
↗