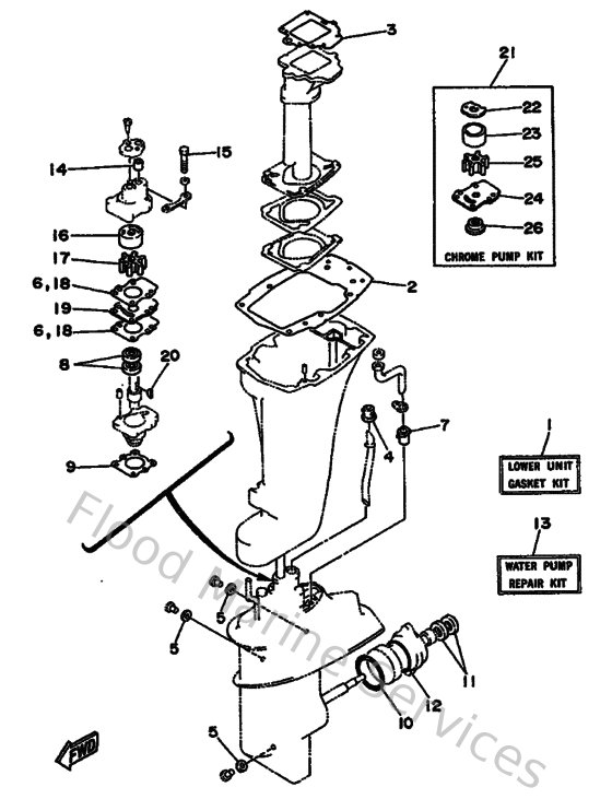
Yamaha Outboard Parts - Kits De Reparation 2 - 9.9DMH (1994) | Flood Marine

Diagram: Kits De Reparation 2

Diagram