Yamaha Outboard Parts - Kits De Reparation 3 (F50A/F45A) - F45A (1997) | Flood Marine
New Search
Parts
New Outboards
Home
F45A (1997)
Kits De Reparation 3 (F50A/F45A)
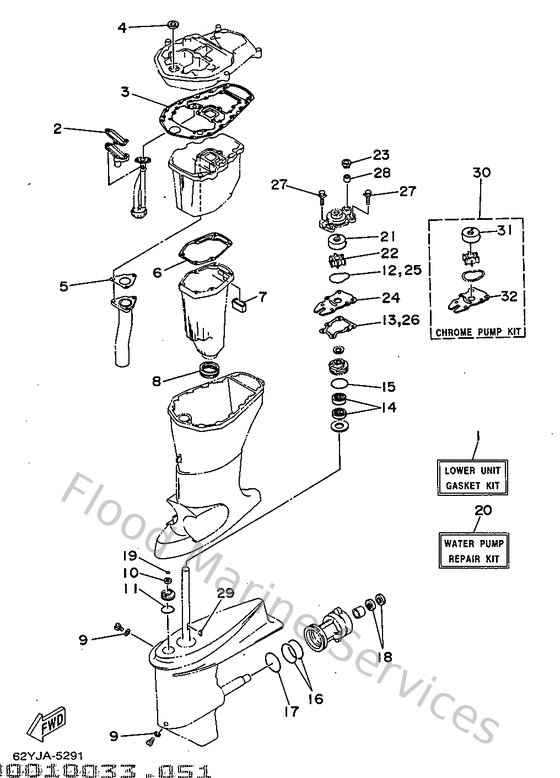
Diagram: Kits De Reparation 3 (F50A/F45A)
Parts List
Reference
Description
Price
1
62YW00012000
Lower unit gasket kit
Loading…
↗
2
62Y134750000
Gasket
Loading…
↗
3
62Y153120000
Gasket, oil pan
Loading…
↗
4
9310416M0100
Oil seal(6a8)
Loading…
↗
5
62Y411330000
Gasket, exhaust manifold 1
Loading…
↗
6
62Y411340000
Gasket, exhaust manifold
Loading…
↗
7
62Y451270000
Seal
Loading…
↗
8
663451230000
Gasket, muffler
Loading…
↗
9
904300802000
Gasket
Loading…
↗
10
931060901400
Oil seal
Loading…
↗
11
9321033MG400
O-ring
Loading…
↗
12
9321059MG700
O-ring
Loading…
↗
13
63D443160000
Gasket, water pump
Loading…
↗
14
9310125M5700
Oil seal
Loading…
↗
15
9321048MG800
O-ring
Loading…
↗
17
9321069MG600
O-ring
Loading…
↗
18
931012206700
Oil seal (22x36x6-663)
Loading…
↗
19
932100754000
O-ring (11m)
Loading…
↗
20
63DW00780100
Water pump repair kit
Loading…
↗
21
63D443220000
Insert, cartridge
Loading…
↗
22
6H3443520000
Impellar
Loading…
↗
23
63D443120000
Cover, water pump housing
Loading…
↗
24
63D443230000
Outer plate, cartridge
Loading…
↗
27
9011908M1500
Bolt, with washer(62w)
Loading…
↗
28
663443660000
Damper, water seal 2
Loading…
↗
29
902800302400
Key, woodruff(662)
Loading…
↗
30
63DW00780A00
Chrome pump kit
Loading…
↗
31
63D443224000
Insert, cartridge
Loading…
↗