Yamaha Outboard Parts - Lower Casing & Drive - 4ACMH (1987) | Flood Marine
New Search
Parts
New Outboards
Home
4ACMH (1987)
Lower Casing & Drive
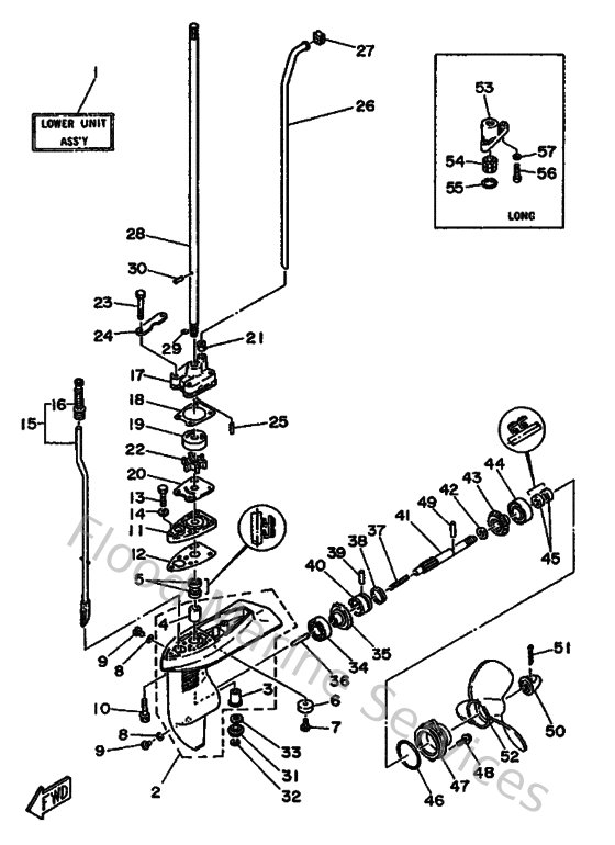
Diagram: Lower Casing & Drive
Parts List
Reference
Description
Price
4
6E0453160900
Bushing
Loading…
↗
5
9310111M1400
Oil seal
Loading…
↗
6
6E0452510000
Anode
Loading…
↗
7
970800601200
Bolt(gh1)
Loading…
↗
8
904300802000
Gasket
Loading…
↗
9
903400801400
Plug, straight screw
Loading…
↗
10
970800603500
Bolt(j52)
Loading…
↗
11
6E045321019M
Plate
Loading…
↗
12
6E0453150000
Packing,lower casing
Loading…
↗
13
9010106M2700
Bolt
Loading…
↗
14
929900660000
Washer, plain (646)
Loading…
↗
15
6E0441500000
Shift cam assembly
Loading…
↗
16
6G1441470000
Boot, shift rod
Loading…
↗
17
6E0443110000
Housing, water pump
Loading…
↗
18
6E0443150000
Gasket,water pump 1
Loading…
↗
19
6E0443224000
Insert, cartridge
Loading…
↗
20
6E0443230000
Outer plate, cartridge
Loading…
↗
21
6E0443660000
Damper, water seal 2
Loading…
↗
22
6E0443520000
Impeller
Loading…
↗
23
970800604500
Bolt, hexagon
Loading…
↗
24
6E0443280000
Plate
Loading…
↗
25
936041808000
Pin. dowel. (647)
Loading…
↗
26
6E0443610000
Tube, water
Loading…
↗
27
646443650000
Damper, water seal 1
Loading…
↗
28
6E0455110000
Shaft, drive
Loading…
↗
30
936040906600
Pin, dowel
Loading…
↗
31
6E0455510000
Pinion (13t)
Loading…
↗
32
990010660000
Circlip(53l)
Loading…
↗
33
9020111M4900
Washer, plate (6e0)
Loading…
↗
35
6E0455600000
Gear 1 assembly (27t)
Loading…
↗
36
654456350000
Plunger, shift
Loading…
↗
37
905011006400
Spring, compression 6164563600
Loading…
↗
38
654456330000
Ring, cross pin
Loading…
↗
39
902500504600
Pin,straight
Loading…
↗
40
6E0456310000
Clutch, dog
Loading…
↗
41
6E0456110000
Shaft, Propeller
Loading…
↗
42
9020113M5000
Washer, plate (6e0)
Loading…
↗
43
6E0455700000
Gear 2 assembly (27t)
Loading…
↗
45
9310113M1200
Oil seal
Loading…
↗
46
932104821400
O-ring
Loading…
↗
47
6E04536109EJ
Cap, lower casing
Loading…
↗
48
958950601600
Bolt, flange deep recess
Loading…
↗
49
902500500900
Pin, straight 6034561500
Loading…
↗
50
647456160200
Nut, propeller
Loading…
↗
51
914903003000
Pin, cotter
Loading…
↗
52
6E0459450000
Propeller (3x7-1/4 x7-1/4 -ba)
Loading…
↗
53
6E04533100CA
Housing, bearing
Loading…
↗
54
6E0453180100
Bushing, drive shaft 3
Loading…
↗
55
9342022M0300
Cir clip (6e0)
Loading…
↗
56
978900502500
Screw, panhead (a93)
Loading…
↗
57
929900560000
Washer, plain (646)
Loading…
↗