Yamaha Outboard Parts - Lower Casing & Drive 1 - 5CMH (1992) | Flood Marine
New Search
Parts
New Outboards
Home
5CMH (1992)
Lower Casing & Drive 1
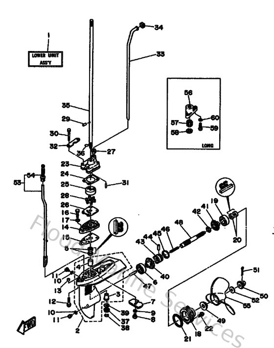
Diagram: Lower Casing & Drive 1
Parts List
Reference
Description
Price
4
6E0453160900
Bushing
Loading…
↗
5
9310110M1400
Oil seal
Loading…
↗
6
93306004U000
Bearing (7k2)
Loading…
↗
7
6L5452510300
Anode
Loading…
↗
8
973950601200
Bolt(gh1)
Loading…
↗
9
929900660000
Washer, plain (646)
Loading…
↗
10
904300800300
Gasket
Loading…
↗
11
9034008M0400
Plug, straight screw
Loading…
↗
12
9011906M4000
Bolt, with washer
Loading…
↗
13
9038706M1400
Collar(6e0)
Loading…
↗
14
6E04532101CA
Plate
Loading…
↗
15
6E045315A000
Packing,lower casing
Loading…
↗
16
973950602500
Bolt
Loading…
↗
19
933060042300
Bearing (7k2)
Loading…
↗
20
9310113M1200
Oil seal
Loading…
↗
21
932104821400
O-ring
Loading…
↗
22
958800601600
Bolt, flange(jl8)
Loading…
↗
23
6E0443110000
Housing, water pump
Loading…
↗
24
6E044315A000
Gasket,water pump 1
Loading…
↗
25
6E0443224000
Insert, cartridge
Loading…
↗
26
6E0443230000
Outer plate, cartridge
Loading…
↗
27
6E0443660000
Damper, water seal 2
Loading…
↗
28
6E0443520000
Impeller
Loading…
↗
29
936040906600
Pin, dowel
Loading…
↗
30
973950604500
Bolt, hexagon
Loading…
↗
31
936041808000
Pin. dowel. (647)
Loading…
↗
32
6E0443280000
Plate
Loading…
↗
33
6E0443611000
Tube, water
Loading…
↗
34
646443650000
Damper, water seal 1
Loading…
↗
35
6E0455111100
Shaft, drive
Loading…
↗
36
9046708M0100
Clip (6e0)
Loading…
↗
37
6E0455510000
Pinion (13t)
Loading…
↗
38
990090660000
Circlip(53l)
Loading…
↗
39
9020111M4900
Washer, plate (6e0)
Loading…
↗
40
6E0455600000
Gear 1 assembly (27t)
Loading…
↗
41
6E0455700000
Gear 2 assembly (27t)
Loading…
↗
42
9020113M5000
Washer, plate (6e0)
Loading…
↗
43
6E0456310000
Clutch, dog
Loading…
↗
44
902500504600
Pin,straight
Loading…
↗
45
654456330000
Ring, cross pin
Loading…
↗
46
905011006400
Spring, compression 6164563600
Loading…
↗
47
654456350000
Plunger, shift
Loading…
↗
48
6E0456110100
Shaft, propeller
Loading…
↗
49
6L5459870100
Spacer 1
Loading…
↗
50
6EEG56160000
Nut, propeller
Loading…
↗
51
914902503000
Pin, cotter(6l5)
Loading…
↗
52
9020108M5400
Washer, plate (6e5)
Loading…
↗
53
6E0441500000
Shift cam assembly
Loading…
↗
54
6G1441470000
Boot, shift rod
Loading…
↗
55
6E0459490000
Propeller (3x7-1/4 x6-1/2 -ba)
Loading…
↗
56
6E045331005B
Housing, bearing
Loading…
↗
57
6E0453180100
Bushing, drive shaft 3
Loading…
↗
58
9342022M0300
Cir clip (6e0)
Loading…
↗
59
985800552500
Screw, panhead (a93)
Loading…
↗
60
929010560000
Washer, plain (646)
Loading…
↗