Yamaha Outboard Parts - Lower Casing Drive 1 - 2BMH (1993) | Flood Marine
New Search
Parts
New Outboards
Home
2BMH (1993)
Lower Casing Drive 1
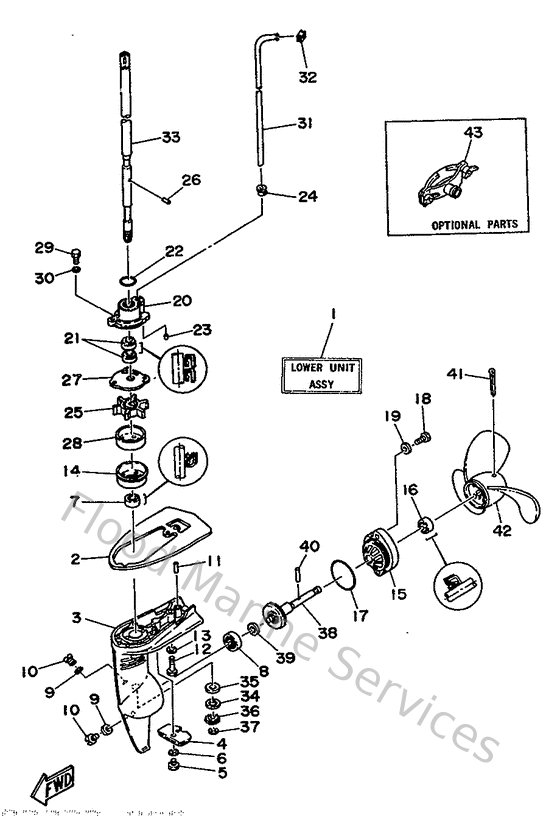
Diagram: Lower Casing Drive 1
Parts List
Reference
Description
Price
4
6L5452510200
Anode
Loading…
↗
5
973950601200
Bolt(gh1)
Loading…
↗
6
929900660000
Washer, plain (646)
Loading…
↗
7
931031105100
Oil seal (11x21x8-646)
Loading…
↗
8
933060000400
Brg,r-b 6000 26mm 19g ky
Loading…
↗
9
904300802000
Gasket
Loading…
↗
10
9034008M0400
Plug, straight screw
Loading…
↗
12
973950603000
Bolt(jf7)
Loading…
↗
14
6A1443250000
Protector, oil seal
Loading…
↗
15
6A14536101EJ
Cap, lower casing
Loading…
↗
16
931031005200
Oil seal (10x21x10-646)
Loading…
↗
17
932104210100
O-ring (183)
Loading…
↗
18
970950601400
Bolt(gj3)
Loading…
↗
20
6A1443120194
Cover,water pump housing
Loading…
↗
23
936040906800
Pin,dowel (646)
Loading…
↗
24
646443660100
Damper, water seal 2
Loading…
↗