Yamaha Outboard Parts - Oil Pan - FT9.9AMH (1986) | Flood Marine
New Search
Parts
New Outboards
Home
FT9.9AMH (1986)
Oil Pan
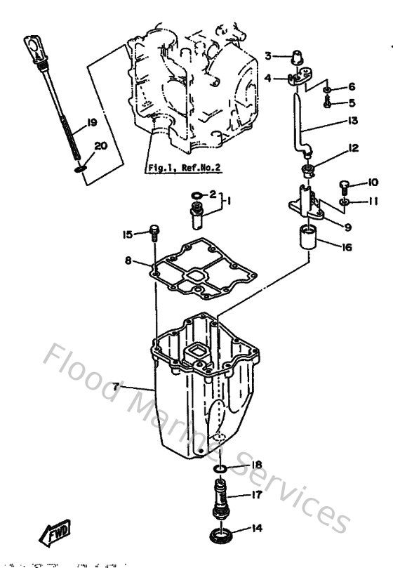
Diagram: Oil Pan
Parts List
Reference
Description
Price
1
6G8115750000
Relief valve ass'y
Loading…
↗
2
9321012M6200
O-ring (6g8)
Loading…
↗
3
6G8153790000
Seal
Loading…
↗
4
6G8134870000
Guide, Oil Hose
Loading…
↗
5
985800501200
Screw,pan head (646)
Loading…
↗
6
929020560000
Washer, plain (646)
Loading…
↗
7
6G815311009M
Oil Pan
Loading…
↗
8
6G815312B000
Gasket, Oil Pan
Loading…
↗
10
973120601600
Bolt, hexagon deep recess
Loading…
↗
11
929020660000
Washer, plain (646)
Loading…
↗
12
6G8153150000
Seal, Crankcase
Loading…
↗
14
6G8153160000
Damper 1
Loading…
↗
15
9010506M3300
Bolt (6g8)
Loading…
↗
16
6G8134170000
Cover Strainer
Loading…
↗
17
6G8134110000
Strainer, oil
Loading…
↗
19
6G8153620000
Plug, Oil Level
Loading…
↗
20
9321013M6300
O-ring (6g8)
Loading…
↗